Product Images Ciprofloxacin

View Photos of Packaging, Labels & Appearance

Product Label Images

The following 3 images provide visual information about the product associated with Ciprofloxacin NDC 63629-1724 by Bryant Ranch Prepack, such as packaging, labeling, and the appearance of the drug itself. This resource could be helpful for medical professionals, pharmacists, and patients seeking to verify medication information and ensure they have the correct product.

Label Image - lbl636291724

Label Image - lbl636291724

This is a description of a medication called Ciprofloxacin in the form of tablets with a strength of 500 mg per tablet. The tablets should be stored within a temperature range of 20°C to 25°C, with excursions permitted within 15°C to 30°C. It bears a National Drug Code (NDC) number of 63629-1724-01 and is to be kept out of the reach of children. The medication should not be used if exposed to sunlight. The text may be an excerpt from a drug label or other packaging insert.*

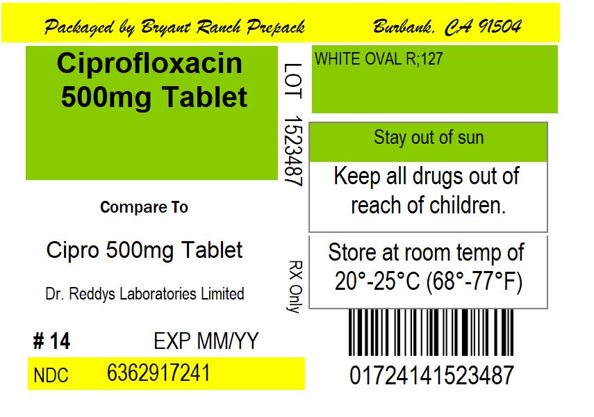
lbl6362917242

lbl6362917242

This text appears to be a label of the medication named Cipro 500mg Tablet, and it includes information about the manufacturer, packaging date, storage, and safety instructions. It is important to keep all drugs out of reach of children, store them at room temperature of 20°-25°C (68°-77°F), and make sure to check the expiration date before use. The National Drug Code (NDC) for this medication is 6362917241 01724141523487.*

structure1 - structure1

structure1 - structure1

* The product label images have been analyzed using a combination of traditional computing and machine learning techniques. It should be noted that the descriptions provided may not be entirely accurate as they are experimental in nature. Use the information in this page at your own discretion and risk.