Product Images Paroxetine

View Photos of Packaging, Labels & Appearance

Product Label Images

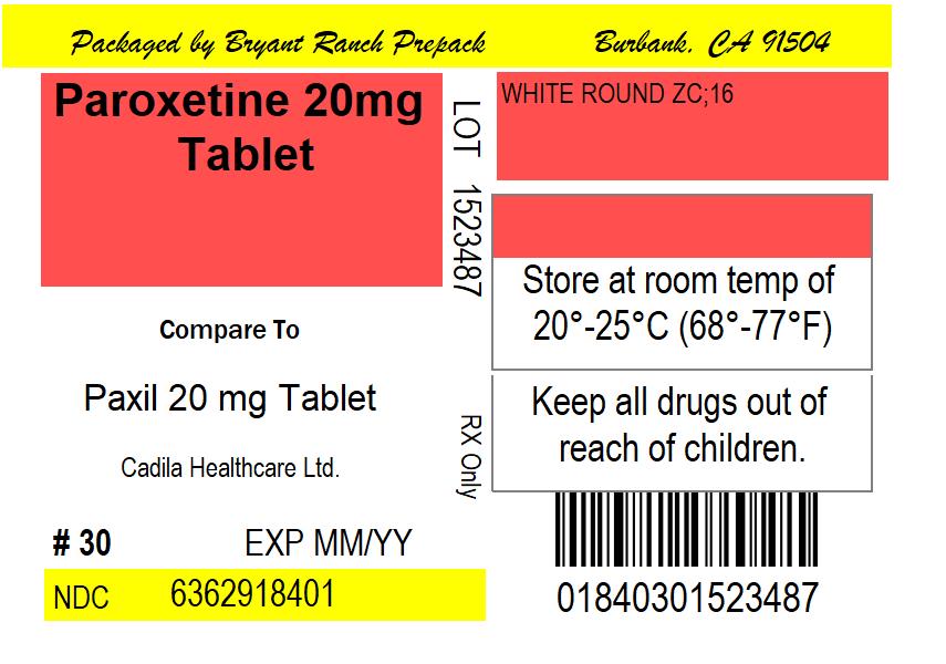
The following 2 images provide visual information about the product associated with Paroxetine NDC 63629-1840 by Bryant Ranch Prepack, such as packaging, labeling, and the appearance of the drug itself. This resource could be helpful for medical professionals, pharmacists, and patients seeking to verify medication information and ensure they have the correct product.

Label Image - lbl636291840

Label Image - lbl636291840

Structured formula for Paroxetine - paroxetine figure 01

Structured formula for Paroxetine - paroxetine figure 01