Product Images Tizanidine
View Photos of Packaging, Labels & Appearance
Product Label Images
The following 5 images provide visual information about the product associated with Tizanidine NDC 63629-3209 by Bryant Ranch Prepack, such as packaging, labeling, and the appearance of the drug itself. This resource could be helpful for medical professionals, pharmacists, and patients seeking to verify medication information and ensure they have the correct product.
fig1 - fig1

This text describes a table showing plasma tizanidine concentration in ng/mL after taking different doses of tizanidine tablets and capsules with or without food. The table includes four different dosing scenarios labeled A, B, C, and D and provides measurements at various hours from dosing.*
fig2 - fig2

The text is a graph or chart with the title "Improvement In Ashworth Score" and labeled Axis "Hours Post-Dose". The graph compares the effects of 16 mg tizanidine versus placebo on Ashworth score. No further information is available.*
fig3 - fig3

The text describes the improvement in Ashworth Score for a study using zanidine at a mean dose of 28.6 mg. The study had an endpoint at the end of maintenance at week 7, based on the last observation carried forward.*
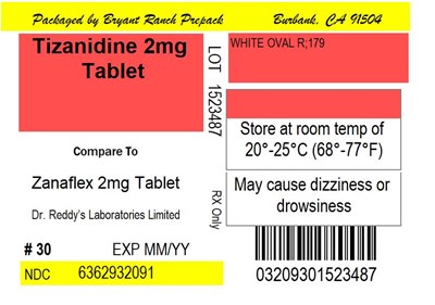
Label Image - lbl636293209

This is a labeled package description for a drug called "Zanaflex 2mg Tablet" produced by Dr. Reddy's Laboratories Limited, with a package size of 30 tablets. The packager for this product is Bryant Ranck Prepack. The package provides information on proper storage conditions and warns of potential side effects such as dizziness or drowsiness. The listed NDC code is 6362932091, and there is an additional numeric code 03209301523487.*
* The product label images have been analyzed using a combination of traditional computing and machine learning techniques. It should be noted that the descriptions provided may not be entirely accurate as they are experimental in nature. Use the information in this page at your own discretion and risk.