Product Images Good Neighbor Pharmacy Pain Relief

View Photos of Packaging, Labels & Appearance

Product Label Images

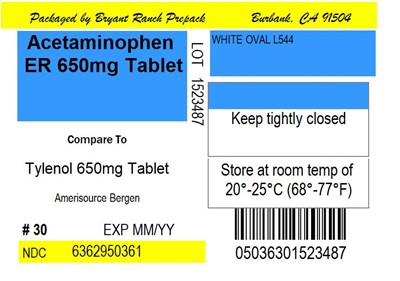
The following image provide visual information about the product associated with Good Neighbor Pharmacy Pain Relief NDC 63629-5036 by Bryant Ranch Prepack, such as packaging, labeling, and the appearance of the drug itself. This resource could be helpful for medical professionals, pharmacists, and patients seeking to verify medication information and ensure they have the correct product.

lbl636295036

lbl636295036

This is a label from Bryant Ranch Prepach Bunbank for Tylenol 650mg Tablets. The medication should be stored at room temperature and kept tightly closed. The label also includes the number of tablets in the package (30) and the expiration date, which appears to be written as "MM/YY". The NDC number is shown as 6362950361 and the product appears to be compared to another medication, Tylenol 650mg Tablet.*

* The product label images have been analyzed using a combination of traditional computing and machine learning techniques. It should be noted that the descriptions provided may not be entirely accurate as they are experimental in nature. Use the information in this page at your own discretion and risk.