Product Images Gabapentin

View Photos of Packaging, Labels & Appearance

Product Label Images

The following 8 images provide visual information about the product associated with Gabapentin NDC 63629-7307 by Bryant Ranch Prepack, such as packaging, labeling, and the appearance of the drug itself. This resource could be helpful for medical professionals, pharmacists, and patients seeking to verify medication information and ensure they have the correct product.

Figure1

Figure1

Figure2

Figure2

This appears to be a table or graph related to pain management, with columns for different dosage periods and rows for pain score data. It is not possible to derive a meaningful description without additional context or information.*

Figure3

Figure3

The given text is describing a graph that shows the percentage of patients who responded to a pain reduction treatment at the endpoint of two studies on PHN (Postherpetic neuralgia). The graph shows the percentage of patients who experienced a 2-50% reduction in pain score. The studies had two treatment groups with varying dosages of GBP (Gabapentin). The graph also includes asterisks indicating significant differences in the treatments.*

Figure4

Figure4

Logo.jpg - Logo

Structure.jpg - Structure

Structure.jpg - Structure

Equation.jpg - equation

Equation.jpg - equation

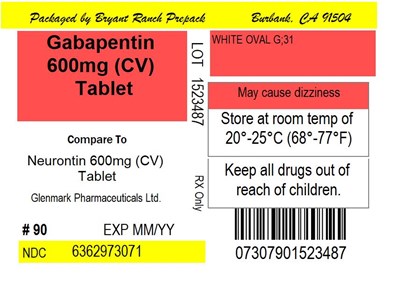
Label Image - lbl636297307

Label Image - lbl636297307

This is a packaging label for Neurontin 600mg tablets from Glenmark Pharmaceuticals Ltd. The label includes the expiration date and NDC number for the medication. It also notes the storage temperature range and includes a warning to keep the medication out of reach of children.*

* The product label images have been analyzed using a combination of traditional computing and machine learning techniques. It should be noted that the descriptions provided may not be entirely accurate as they are experimental in nature. Use the information in this page at your own discretion and risk.