Product Images Pravastatin Sodium

View Photos of Packaging, Labels & Appearance

Product Label Images

The following 4 images provide visual information about the product associated with Pravastatin Sodium NDC 63629-7508 by Bryant Ranch Prepack, such as packaging, labeling, and the appearance of the drug itself. This resource could be helpful for medical professionals, pharmacists, and patients seeking to verify medication information and ensure they have the correct product.

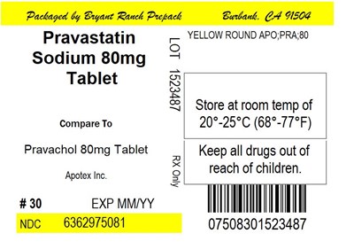
Label Image - lbl636297508

Label Image - lbl636297508

This is a description of a medication called "Pravastatin Sodium" in tablet form, with a strength of 80mg per tablet. It is only available with a prescription (Rx only) and comes in a bottle containing 30 tablets. The drug should be kept out of the reach of children and stored between 20°-25°C (68°-77°F). Excursions are permitted between 15°-30°C (59°-86°F) but must comply with USP controlled room temperature guidelines. The NDC (National Drug Code) for this product is 63629-7508-1. "NILD" and "VSN #0516 YO" do not convey any useful information.*

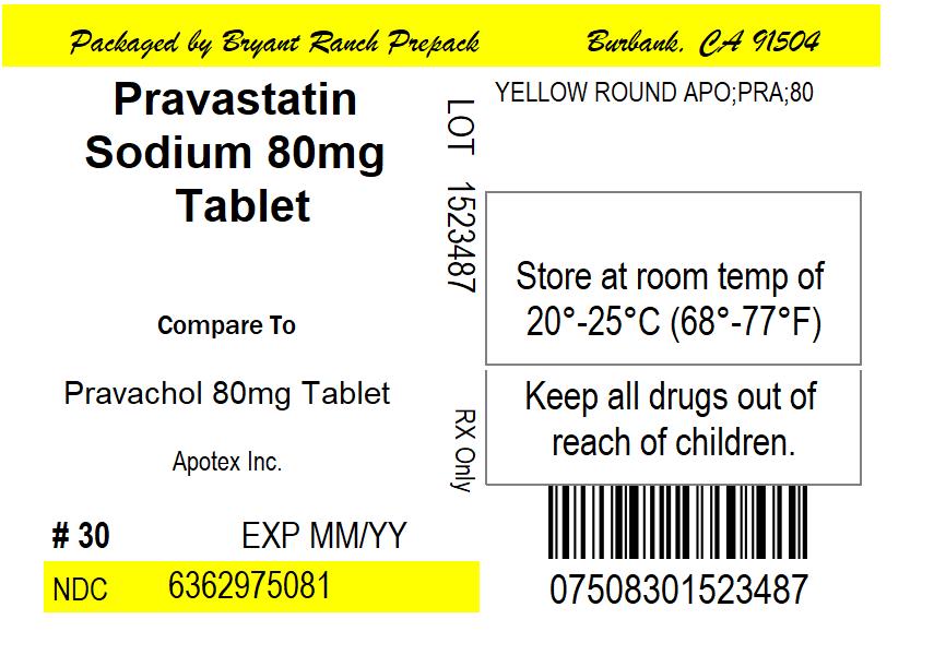
lbl6362975082

lbl6362975082

This information appears to be a description of a medication called Pravastatin. The medication is a yellow, round tablet with the marking APO;PRA;80. Each tablet contains 80mg of Sodium. The tablets should be stored at room temperature between 20°-25°C (68°-77°F) and kept out of reach of children. The medication may be available in packages of 30, and the NDC number listed is 6362975081 07508301523487.*

pravastatin-fig1 - pravastatin fig1

pravastatin-fig1 - pravastatin fig1

pravastatin-structure - pravastatin structure

pravastatin-structure - pravastatin structure

This appears to be a molecular weight (MW) value for a chemical compound called "CpHasaO". Without additional information about the properties and structure of CpHasaO, it is difficult to provide a more detailed description.*

* The product label images have been analyzed using a combination of traditional computing and machine learning techniques. It should be noted that the descriptions provided may not be entirely accurate as they are experimental in nature. Use the information in this page at your own discretion and risk.