Product Images Raloxifene Hydrochloride
View Photos of Packaging, Labels & Appearance
Product Label Images
The following 3 images provide visual information about the product associated with Raloxifene Hydrochloride NDC 63629-8209 by Bryant Ranch Prepack, such as packaging, labeling, and the appearance of the drug itself. This resource could be helpful for medical professionals, pharmacists, and patients seeking to verify medication information and ensure they have the correct product.
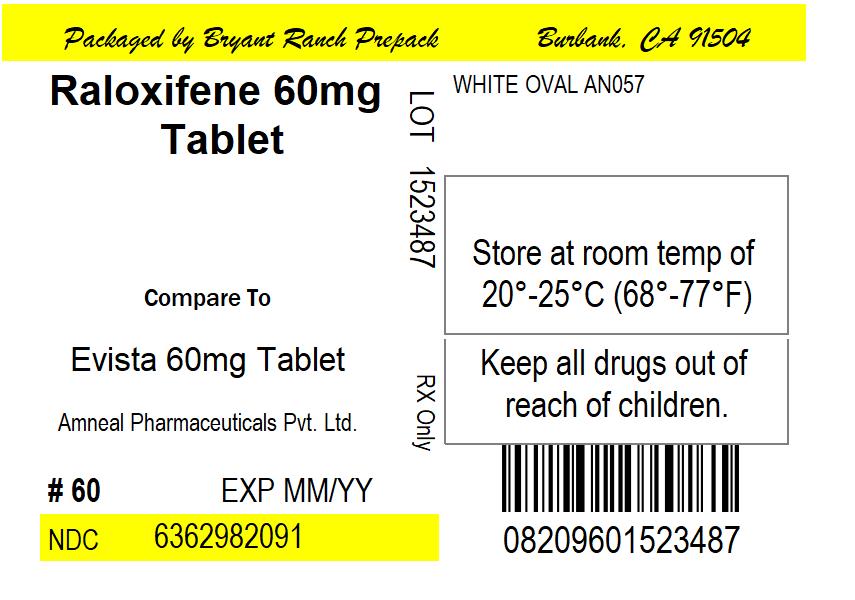
Label Image - lbl636298209

This appears to be a label of Raloxifene 60mg Tablet made by Amneal Pharmaceuticals Pvt. Ltd. The tablet is oval and white with the imprint AN057. It should be stored at room temperature between 20°C-25°C (68°F-77°F) and kept out of reach of children. The label also includes the NDC code and an expiration date field.*
Image 1 - raloxifene hcl tablets usp 2

The text provides data for the Total hip mean percentage change from baseline in placebo and Raloxifene HC subjects for 24 months from two different studies (NA and EU) as well as data for Raloxifene HC, placebo and CE subjects for 24-month from Study INT in hysterectomized women. The data is presented for the duration of 0, 6, 12, 16 and 24 months after randomization. The study INT used a conjugated estrogen 0.625 mg/day. The analysis used the intent to treat approach with the last observation carried forward.*
* The product label images have been analyzed using a combination of traditional computing and machine learning techniques. It should be noted that the descriptions provided may not be entirely accurate as they are experimental in nature. Use the information in this page at your own discretion and risk.