Product Images Rabeprazole Sodium

View Photos of Packaging, Labels & Appearance

Product Label Images

The following 6 images provide visual information about the product associated with Rabeprazole Sodium NDC 71335-0244 by Bryant Ranch Prepack, such as packaging, labeling, and the appearance of the drug itself. This resource could be helpful for medical professionals, pharmacists, and patients seeking to verify medication information and ensure they have the correct product.

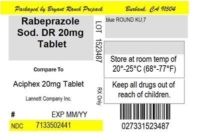
Label Image - lbl713350244

Label Image - lbl713350244

This is a medication description for Rabeprazole, a blue round tablet with KU;7 on one side and Sod. DR20mg on the other side. It is a generic equivalent of Aciphex 20mg Tablet, made by Lannett Company. The medication should be stored at room temperature between 20°-25°C (68°-77°F) and kept out of reach of children. The expiration date is not available. The text includes a label with the National Drug Code (NDC) number 7133502441 027331523487.*

Figure 1 - rabeprazole sodium delayed release tablets 1

Figure 1 - rabeprazole sodium delayed release tablets 1

Figure 2 - rabeprazole sodium delayed release tablets 2

Figure 2 - rabeprazole sodium delayed release tablets 2

This is a report of a study that includes three groups of participants. The first group, called "PLACEBO," consists of 68 individuals. The second group, "RAB 10mg," has 64 participants, and the last group, "RAB20mg," includes 67 individuals. The study took place across four weeks, labeled as study day 0, 7, 14, 21, and 28. The study measured heartburn scores on a scale of 0 to 4, with 0 being no heartburn and 4 being very severe heartburn.*

Figure 3 - rabeprazole sodium delayed release tablets 3

Figure 3 - rabeprazole sodium delayed release tablets 3

This text contains data on the number of participants in a study who were given either a placebo or varying doses of a drug called RAB. There were 68 people in the placebo group, 64 in the group given 10mg of RAB, and 67 in the group given 20mg of RAB.*

Figure 4 - rabeprazole sodium delayed release tablets 4

Figure 4 - rabeprazole sodium delayed release tablets 4

Figure 5 - rabeprazole sodium delayed release tablets 5

Figure 5 - rabeprazole sodium delayed release tablets 5

* The product label images have been analyzed using a combination of traditional computing and machine learning techniques. It should be noted that the descriptions provided may not be entirely accurate as they are experimental in nature. Use the information in this page at your own discretion and risk.