Product Images Enalapril Maleate

View Photos of Packaging, Labels & Appearance

Product Label Images

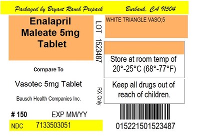
The following 2 images provide visual information about the product associated with Enalapril Maleate NDC 71335-0305 by Bryant Ranch Prepack, such as packaging, labeling, and the appearance of the drug itself. This resource could be helpful for medical professionals, pharmacists, and patients seeking to verify medication information and ensure they have the correct product.

image - image 01

image - image 01

Label - lbl713350305

Label - lbl713350305

This is a description of a medication named Enalapril Maleate. It comes in the form of a tablet and the label provides dosage and storage instructions. The medication is manufactured by a company named Bausch Health Companies Inc. The label also includes an NDC which could be useful for tracking the medication.*

* The product label images have been analyzed using a combination of traditional computing and machine learning techniques. It should be noted that the descriptions provided may not be entirely accurate as they are experimental in nature. Use the information in this page at your own discretion and risk.