Product Images Triamterene And Hydrochlorothiazide
View Photos of Packaging, Labels & Appearance
Product Label Images
The following 3 images provide visual information about the product associated with Triamterene And Hydrochlorothiazide NDC 71335-0326 by Bryant Ranch Prepack, such as packaging, labeling, and the appearance of the drug itself. This resource could be helpful for medical professionals, pharmacists, and patients seeking to verify medication information and ensure they have the correct product.
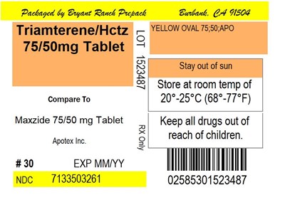
Label Image - lbl713350326

This appears to be a medication label for Triamterene/HCTZ tablets. The tablets are yellow and oval-shaped, with the imprint "TSS0APO" and contain 75 mg of triamterene and 50 mg of hydrochlorothiazide. The label advises to avoid sun exposure and store at room temperature. The prescription comes in a package of 30 tablets and the NDC (National Drug Code) is 7133503261 02585301523487.*
structure-hydrochlorothiazide - structure hydrochlorothiazide

This is a chemical description of a molecule with a CHCIN composition and a molecular weight of 297.73.*
structure-triamterene - structure triamterene

CuHuNy is a chemical compound with a molecular weight of 253.27. No further information is available from this text.*
* The product label images have been analyzed using a combination of traditional computing and machine learning techniques. It should be noted that the descriptions provided may not be entirely accurate as they are experimental in nature. Use the information in this page at your own discretion and risk.