Product Images Phentermine Hydrochloride

View Photos of Packaging, Labels & Appearance

Product Label Images

The following 4 images provide visual information about the product associated with Phentermine Hydrochloride NDC 71335-0350 by Bryant Ranch Prepack, such as packaging, labeling, and the appearance of the drug itself. This resource could be helpful for medical professionals, pharmacists, and patients seeking to verify medication information and ensure they have the correct product.

Label Image - lbl713350350

Label Image - lbl713350350

Phentermine Hydrochloride Tablets for oral use containing 37.5mg of Phentermine Hydrochloride, USP. Each bottle has 7 tablets. It should be stored at 20°C to 25°C (68°F to 77°F), and can be permitted to excursion up to 15°C to 30°C (59°F to 86°F). This is a prescription drug and should be kept away from the reach of children. NILD is the manufacturer and NDC number is 71335-0350-1.*

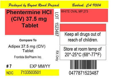
lbl7133503502

lbl7133503502

This text seems to be a label of a medication package for Adipex 37.5 mg (CIV) manufactured by Frontida BioPharm Inc. It contains information about the manufacturer, dosage, expiration date, NDC, and instructions for storage. The medication should be stored at a temperature of 20°-25°C (68°-77°F) and kept out of reach of children.*

Chemical Structure - phentermine 01

Chemical Structure - phentermine 01

Figure - phentermine 02

Figure - phentermine 02

This data appears to be a table indicating the ideal weight for individuals of varying heights (in feet and inches). The weight is measured in pounds and corresponds to specific ages ('gon') listed on the left-hand column. Age information is not complete as there are missing values.*

* The product label images have been analyzed using a combination of traditional computing and machine learning techniques. It should be noted that the descriptions provided may not be entirely accurate as they are experimental in nature. Use the information in this page at your own discretion and risk.