Product Images Famotidine
View Photos of Packaging, Labels & Appearance
Product Label Images
The following 2 images provide visual information about the product associated with Famotidine NDC 71335-0409 by Bryant Ranch Prepack, such as packaging, labeling, and the appearance of the drug itself. This resource could be helpful for medical professionals, pharmacists, and patients seeking to verify medication information and ensure they have the correct product.
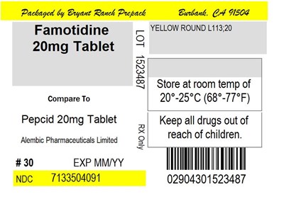
Label - lbl713350409

This appears to be a label of a medication called Famotidine, which comes in a round, yellow tablet with the imprinted text L113;20. The tablets contain 20mg of the medication and should be stored at room temperature. It also mentions that this medication is comparable to Pepcid 20mg Tablet. The label also indicates the manufacturer's name, Alembic Pharmaceuticals Limited, the expiration date, and instructions to keep all drugs out of reach of children.*
* The product label images have been analyzed using a combination of traditional computing and machine learning techniques. It should be noted that the descriptions provided may not be entirely accurate as they are experimental in nature. Use the information in this page at your own discretion and risk.