Product Images Misoprostol
View Photos of Packaging, Labels & Appearance
Product Label Images
The following 2 images provide visual information about the product associated with Misoprostol NDC 71335-0460 by Bryant Ranch Prepack, such as packaging, labeling, and the appearance of the drug itself. This resource could be helpful for medical professionals, pharmacists, and patients seeking to verify medication information and ensure they have the correct product.
5df595d7 0e14 4d69 be64 06e8a992406b 01

This is a chemical compound with the molecular weight of 382.5 and a complex name of "(=) methyl 11a, 16-dihydroxy-16-methyl-9-oxoprost-13E-en-1-oate". It is likely a synthetic organic molecule used for research or pharmaceutical purposes.*
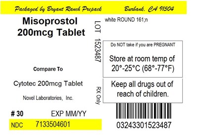
Label Image - lbl713350460

This appears to be the label of a medicine named Misoprostol, which is round and white in color. It comes in a package that was packed by Bryant Ranck Prepack Bunbauk. The tablet has a strength of 200mcg and should not be taken if pregnant. It is advised to store the drug at room temperature between 20°C to 25°C (68°F to 77°F) and should be kept out of reach of children. The medicine is produced by Novel Laboratories, Inc. The label also has an NDC code and an expiry date of MM/YY.*
* The product label images have been analyzed using a combination of traditional computing and machine learning techniques. It should be noted that the descriptions provided may not be entirely accurate as they are experimental in nature. Use the information in this page at your own discretion and risk.