Product Images Rosuvastatin

View Photos of Packaging, Labels & Appearance

Product Label Images

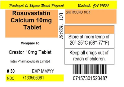
The following 2 images provide visual information about the product associated with Rosuvastatin NDC 71335-0606 by Bryant Ranch Prepack, such as packaging, labeling, and the appearance of the drug itself. This resource could be helpful for medical professionals, pharmacists, and patients seeking to verify medication information and ensure they have the correct product.

Label - lbl713350606

Label - lbl713350606

strucural formula - rosuvastatin calcium structure

strucural formula - rosuvastatin calcium structure