Product Images Levofloxacin

View Photos of Packaging, Labels & Appearance

Product Label Images

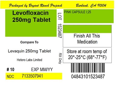
The following 3 images provide visual information about the product associated with Levofloxacin NDC 71335-0794 by Bryant Ranch Prepack, such as packaging, labeling, and the appearance of the drug itself. This resource could be helpful for medical professionals, pharmacists, and patients seeking to verify medication information and ensure they have the correct product.

Label Image - lbl713350794

Label Image - lbl713350794

This is a packaging label for medication similar to Levaquin 250mg manufactured by Hetero Labs Limited. The medication is packaged by Bryant Ranch Prepach Bunbank with an expiration date of MM/YY and NDC code 7133507941. The label advises storing the medication at room temperature. No further information is available.*

levofloxacinaddress2 - levofloxacinaddress2

levofloxacinaddress2 - levofloxacinaddress2

levofloxacinfigure1 - levofloxacinfigure1

levofloxacinfigure1 - levofloxacinfigure1

* The product label images have been analyzed using a combination of traditional computing and machine learning techniques. It should be noted that the descriptions provided may not be entirely accurate as they are experimental in nature. Use the information in this page at your own discretion and risk.