Product Images Alprazolam

View Photos of Packaging, Labels & Appearance

Product Label Images

The following 2 images provide visual information about the product associated with Alprazolam NDC 71335-0920 by Bryant Ranch Prepack, such as packaging, labeling, and the appearance of the drug itself. This resource could be helpful for medical professionals, pharmacists, and patients seeking to verify medication information and ensure they have the correct product.

Alprazolam Chemical Structure - image 01

Alprazolam Chemical Structure - image 01

The text appears to be a chemical formula and molecular weight for a compound. The compound is Cy7H13CINg with a molecular weight of 308.77.*

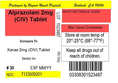
Label Image - lbl713350920

Label Image - lbl713350920

This text contains information about a medication package called "Prepack" which is compared to a medication called "Xanax 2mg (CIV) Tablet" manufactured by Sandoz Inc. The Prepack is packaged by Bryant Ranck and is associated with an NDC number. The package contains 30 tablets and has an expiration date of MM/YY. The text also includes a warning to keep all drugs out of the reach of children and information about the storage temperature range.*

* The product label images have been analyzed using a combination of traditional computing and machine learning techniques. It should be noted that the descriptions provided may not be entirely accurate as they are experimental in nature. Use the information in this page at your own discretion and risk.