Product Images Diltiazem Hydrochloride
View Photos of Packaging, Labels & Appearance
Product Label Images
The following 2 images provide visual information about the product associated with Diltiazem Hydrochloride NDC 71335-1001 by Bryant Ranch Prepack, such as packaging, labeling, and the appearance of the drug itself. This resource could be helpful for medical professionals, pharmacists, and patients seeking to verify medication information and ensure they have the correct product.
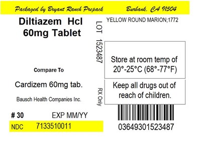
Label - lbl713351001

This is a description of a drug package of Diltiazem HCI 60mg tablets labeled by Bryant Ranch Prepach Burbank. The tablets are yellow in color, round in shape and have the label "MARION;1772". The tablet package contains 30 tablets and the NDC code is 7133510011 03649301523487. The package should be stored at room temperature (20°-25°C or 68°-77°F) and kept out of reach of children. The expiration date is indicated as "MM/YY" which is not available in the provided text.*
* The product label images have been analyzed using a combination of traditional computing and machine learning techniques. It should be noted that the descriptions provided may not be entirely accurate as they are experimental in nature. Use the information in this page at your own discretion and risk.