Product Images Desipramine Hydrochloride

View Photos of Packaging, Labels & Appearance

Product Label Images

The following 3 images provide visual information about the product associated with Desipramine Hydrochloride NDC 71335-1021 by Bryant Ranch Prepack, such as packaging, labeling, and the appearance of the drug itself. This resource could be helpful for medical professionals, pharmacists, and patients seeking to verify medication information and ensure they have the correct product.

4ab86f5d d478 49c6 926a 3dc0a41cd58c 01

4ab86f5d d478 49c6 926a 3dc0a41cd58c 01

4ab86f5d d478 49c6 926a 3dc0a41cd58c 03

4ab86f5d d478 49c6 926a 3dc0a41cd58c 03

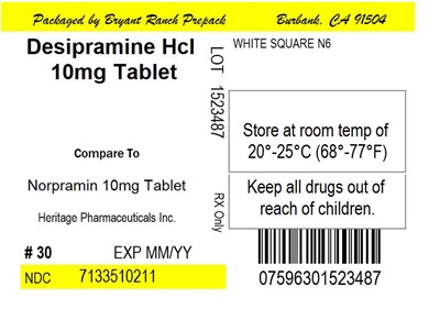
Label Image - lbl713351021

Label Image - lbl713351021

This text appears to be a medication label for Desipramine HCI 10mg Tablets, which are white, square-shaped tablets manufactured by Heritage Pharmaceuticals Inc. The tablets are used to treat depression and other mental health conditions, and should be stored at room temperature between 20-25°C (68-77°F). The label also includes a caution to keep all drugs out of reach of children. The medicine comes in a bottle of 30 tablets and has an expiration date in MM/YY format. The NDC number is 7133510211 and the UPC barcode number is 07596301523487.*

* The product label images have been analyzed using a combination of traditional computing and machine learning techniques. It should be noted that the descriptions provided may not be entirely accurate as they are experimental in nature. Use the information in this page at your own discretion and risk.