Product Images Topiramate
View Photos of Packaging, Labels & Appearance
Product Label Images
The following 5 images provide visual information about the product associated with Topiramate NDC 71335-1064 by Bryant Ranch Prepack, such as packaging, labeling, and the appearance of the drug itself. This resource could be helpful for medical professionals, pharmacists, and patients seeking to verify medication information and ensure they have the correct product.
a3c0c9f1 34be 43b2 a33a bda648fa93d2 02

This text provides data on cumulative rates for time to first seizure comparing two groups of patients taking different dosages of topiramate (50 mg/day and 400 mg/day). The results show a significant difference with a p-value of 0.00002. The graph displays the time in days on the x-axis and cumulative rates on the y-axis.*
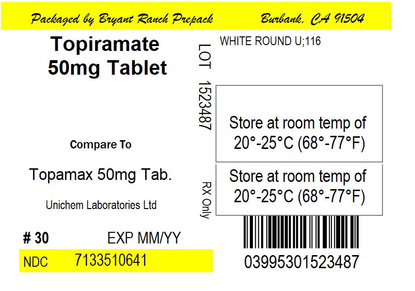
Label Image - lbl713351064

This text provides information about a package containing Topiramate 50mg tablets in white and round form. The tablets are stored at room temperature (20°-25°C or 68°-77°F). The package contains 30 tablets and includes the NDC code 7133510641 and expiration date MM/YY. The tablets are compared to Topamax 50mg tablets produced by Unichem Laboratories Ltd. The packaging was done by Bryant Ranck Prepack Bunbauk.*
* The product label images have been analyzed using a combination of traditional computing and machine learning techniques. It should be noted that the descriptions provided may not be entirely accurate as they are experimental in nature. Use the information in this page at your own discretion and risk.