Product Images Terbinafine

View Photos of Packaging, Labels & Appearance

Product Label Images

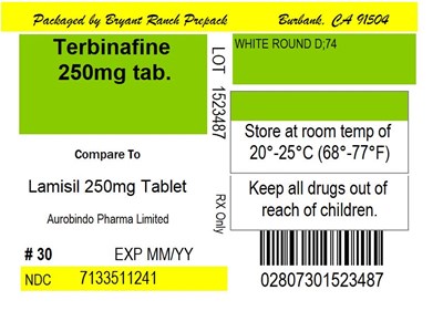
The following 2 images provide visual information about the product associated with Terbinafine NDC 71335-1124 by Bryant Ranch Prepack, such as packaging, labeling, and the appearance of the drug itself. This resource could be helpful for medical professionals, pharmacists, and patients seeking to verify medication information and ensure they have the correct product.

Label Image - lbl713351124

Label Image - lbl713351124

This is a description of a medication package. It is from Bryant Ranch Prepach Bunbank and has the code 04 91502. The medication is a 250mg tablet of Lamisil made by Aurobindo Pharma Limited. It comes in a package of 30 tablets and has an expiration date of MM/YY. The NDC code is 7133511241. The package also includes information about storing the medication at room temperature and keeping it away from children.*

Chemical Structure - terbinafine str

Chemical Structure - terbinafine str

* The product label images have been analyzed using a combination of traditional computing and machine learning techniques. It should be noted that the descriptions provided may not be entirely accurate as they are experimental in nature. Use the information in this page at your own discretion and risk.