Product Images Metoprolol Tartrate

View Photos of Packaging, Labels & Appearance

Product Label Images

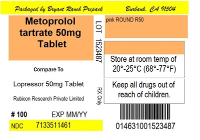
The following 3 images provide visual information about the product associated with Metoprolol Tartrate NDC 71335-1146 by Bryant Ranch Prepack, such as packaging, labeling, and the appearance of the drug itself. This resource could be helpful for medical professionals, pharmacists, and patients seeking to verify medication information and ensure they have the correct product.

Label - lbl713351146

Label - lbl713351146

This is a description of a medication called Metoprolol, which is available in the form of pink round tablets with the marking "R50". Each tablet of Metoprolol Tartrate contains 50mg of the active ingredient. The medication is intended for oral use only and should be stored at room temperature between 20°-25°C (68°-77°F). The tablets come in a bottle containing 100 pills and have an expiration date of MM/YY. Metoprolol is a prescription drug used to treat high blood pressure, chest pain (angina), and heart failure. It should be kept out of reach of children.*

metoprolol tartrate tabs usp 50mg image

metoprolol tartrate tabs usp 50mg image

Chemical Structure - metoprolol tartrate tabs usp structure

Chemical Structure - metoprolol tartrate tabs usp structure

* The product label images have been analyzed using a combination of traditional computing and machine learning techniques. It should be noted that the descriptions provided may not be entirely accurate as they are experimental in nature. Use the information in this page at your own discretion and risk.