Product Images Escitalopram

View Photos of Packaging, Labels & Appearance

Product Label Images

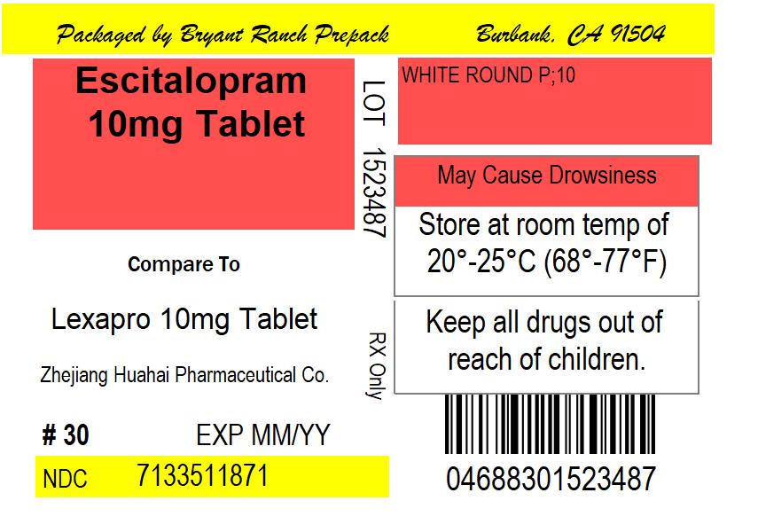
The following 2 images provide visual information about the product associated with Escitalopram NDC 71335-1187 by Bryant Ranch Prepack, such as packaging, labeling, and the appearance of the drug itself. This resource could be helpful for medical professionals, pharmacists, and patients seeking to verify medication information and ensure they have the correct product.

Label Image - lbl713351187

Label Image - lbl713351187

This is a medication package containing a drug named Lexapro 10mg Tablet, manufactured by Zhejiang Huahai Pharmaceutical Co. The package was prepacked by Bryant Ranck, and it contains 30 tablets, with an expiration date of MM/YY. The package also includes an NDC code and storage instructions to be kept at room temperature. The drug should be kept away from the reach of children. The last line appears to be a barcode number but cannot be fully read by .*

Structural Formula - structure

Structural Formula - structure

* The product label images have been analyzed using a combination of traditional computing and machine learning techniques. It should be noted that the descriptions provided may not be entirely accurate as they are experimental in nature. Use the information in this page at your own discretion and risk.