Product Images Fluconazole
View Photos of Packaging, Labels & Appearance
Product Label Images
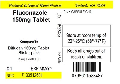
The following 3 images provide visual information about the product associated with Fluconazole NDC 71335-1268 by Bryant Ranch Prepack, such as packaging, labeling, and the appearance of the drug itself. This resource could be helpful for medical professionals, pharmacists, and patients seeking to verify medication information and ensure they have the correct product.
Label Image - lbl713351268

Fluconazole 150mg pink capsules packaged by Bryant Ranck Prepack Bunbauk. The tablets can be stored at room temperature of 20°-25°C (68°-77°F) and should be kept out of reach of children. The label contains an expiration date (EXP MM/YY). NDC number: 7133512681 0798611523487.*
* The product label images have been analyzed using a combination of traditional computing and machine learning techniques. It should be noted that the descriptions provided may not be entirely accurate as they are experimental in nature. Use the information in this page at your own discretion and risk.