Product Images Valsartan

View Photos of Packaging, Labels & Appearance

Product Label Images

The following 3 images provide visual information about the product associated with Valsartan NDC 71335-1337 by Bryant Ranch Prepack, such as packaging, labeling, and the appearance of the drug itself. This resource could be helpful for medical professionals, pharmacists, and patients seeking to verify medication information and ensure they have the correct product.

Val-struct - Val struc

Val-struct - Val struc

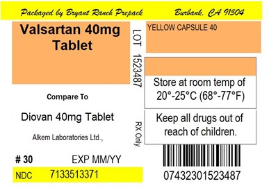
Label Image - lbl713351337

Label Image - lbl713351337

This appears to be a combination of product labeling and other text, which includes a drug name, dosage strength, manufacturer name, storage instructions, and other details related to a medicine. Specifically, the text refers to the medicine "Valsartan 40mg" which comes in the form of "yellow capsules" and "tablets". The manufacturer name is "Alkem Laboratories Ltd". The drug should be stored at a temperature between 20 to 25 degrees Celsius. Additionally, there are details related to other products, such as a ranch and a bank, that seem to be unrelated to the medicine.*

val chart 1

val chart 1

This text contains a table comparing the results of Valsartan vs Captopril for different subgroups of patients. The subgroups are categorized by age, gender, location, and use of beta-blocker medication. The table shows the percentage of patients in each subgroup and whether they favor Valsartan or Captopril. There is no further information available from this text.*

* The product label images have been analyzed using a combination of traditional computing and machine learning techniques. It should be noted that the descriptions provided may not be entirely accurate as they are experimental in nature. Use the information in this page at your own discretion and risk.