Product Images Carvedilol
View Photos of Packaging, Labels & Appearance
Product Label Images
The following 6 images provide visual information about the product associated with Carvedilol NDC 71335-1457 by Bryant Ranch Prepack, such as packaging, labeling, and the appearance of the drug itself. This resource could be helpful for medical professionals, pharmacists, and patients seeking to verify medication information and ensure they have the correct product.
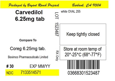
Label - lbl713351457

This appears to be a medicine label for Carvedilol, a generic version of Coreg used to treat heart failure and hypertension. The tablets are oval and white, with a strength of 6.25mg. They should be stored at room temperature between 20°C-25°C (68°-77°F) and kept tightly closed. The label is for a 30 count bottle with an expiration date of MM/YY. The NDC number listed is 7133514571 03668301523487.*
* The product label images have been analyzed using a combination of traditional computing and machine learning techniques. It should be noted that the descriptions provided may not be entirely accurate as they are experimental in nature. Use the information in this page at your own discretion and risk.