FDA Label for Alprazolam
View Indications, Usage & Precautions
- WARNING: RISKS FROM CONCOMITANT USE WITH OPIOIDS; ABUSE, MISUSE, AND ADDICTION; AND DEPENDENCE AND WITHDRAWAL REACTIONS
- 1 INDICATIONS AND USAGE
- 2.1 DOSAGE IN GENERALIZED ANXIETY DISORDER
- 2.2 DOSAGE IN PANIC DISORDER
- 2.3 DISCONTINUATION OR DOSAGE REDUCTION OF ALPRAZOLAM TABLETS
- 2.4 DOSAGE RECOMMENDATIONS IN GERIATRIC PATIENTS
- 2.5 DOSAGE RECOMMENDATIONS IN PATIENTS WITH HEPATIC IMPAIRMENT
- 2.6 DOSAGE MODIFICATIONS FOR DRUG INTERACTIONS
- 3 DOSAGE FORMS AND STRENGTHS
- 4 CONTRAINDICATIONS
- 5.1 RISKS FROM CONCOMITANT USE WITH OPIOIDS
- 5.2 ABUSE, MISUSE, AND ADDICTION
- 5.3 DEPENDENCE AND WITHDRAWAL REACTIONS
- OTHER
- 5.4 EFFECTS ON DRIVING AND OPERATING MACHINERY
- 5.5 NEONATAL SEDATION AND WITHDRAWAL SYNDROME
- 5.6 INTERACTION WITH DRUGS THAT INHIBIT METABOLISM VIA CYTOCHROME P450 3A
- 5.7 PATIENTS WITH DEPRESSION
- 5.8 MANIA
- 5.9 RISK IN PATIENTS WITH IMPAIRED RESPIRATORY FUNCTION
- 6 ADVERSE REACTIONS
- 6.1 CLINICAL TRIALS EXPERIENCE
- 6.2 POSTMARKETING EXPERIENCE
- 7.1 DRUGS HAVING CLINICALLY IMPORTANT INTERACTIONS WITH ALPRAZOLAM TABLETS
- 7.2 DRUG/LABORATORY TEST INTERACTIONS
- 8.4 PEDIATRIC USE
- 8.5 GERIATRIC USE
- 8.6 HEPATIC IMPAIRMENT
- 9.1 CONTROLLED SUBSTANCE
- 9.2 ABUSE
- 9.3 DEPENDENCE
- 10.1 CLINICAL EXPERIENCE
- 10.2 MANAGEMENT OF OVERDOSE
- 11 DESCRIPTION
- 12.1 MECHANISM OF ACTION
- 12.3 PHARMACOKINETICS
- 13.2 ANIMAL TOXICOLOGY AND/OR PHARMACOLOGY
- 14.1 GENERALIZED ANXIETY DISORDER
- 14.2 PANIC DISORDER
- 16 HOW SUPPLIED/STORAGE AND HANDLING
- 17 PATIENT COUNSELING INFORMATION
- SPL MEDGUIDE
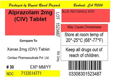
- PACKAGE LABEL.PRINCIPAL DISPLAY PANEL
Alprazolam Product Label
The following document was submitted to the FDA by the labeler of this product Bryant Ranch Prepack. The document includes published materials associated whith this product with the essential scientific information about this product as well as other prescribing information. Product labels may durg indications and usage, generic names, contraindications, active ingredients, strength dosage, routes of administration, appearance, warnings, inactive ingredients, etc.
Warning: Risks From Concomitant Use With Opioids; Abuse, Misuse, And Addiction; And Dependence And Withdrawal Reactions
- Concomitant use of benzodiazepines and opioids may result in profound sedation, respiratory depression, coma, and death. Reserve concomitant prescribing of these drugs for patients for whom alternative treatment options are inadequate. Limit dosages and durations to the minimum required. Follow patients for signs and symptoms of respiratory depression and sedation [see Warnings and Precautions (5.1), Drug Interactions (7.1)].
- The use of benzodiazepines, including alprazolam tablets, exposes users to risks of abuse, misuse, and addiction, which can lead to overdose or death. Abuse and misuse of benzodiazepines commonly involve concomitant use of other medications, alcohol, and/or illicit substances, which is associated with an increased frequency of serious adverse outcomes. Before prescribing alprazolam tablets and throughout treatment, assess each patient's risk for abuse, misuse, and addiction [see Warnings and Precautions (5.2)].
- The continued use of benzodiazepines, including alprazolam tablets, may lead to clinically significant physical dependence. The risks of dependence and withdrawal increase with longer treatment duration and higher daily dose. Abrupt discontinuation or rapid dosage reduction of alprazolam tablets after continued use may precipitate acute withdrawal reactions, which can be life-threatening. To reduce the risk of withdrawal reactions, use a gradual taper to discontinue alprazolam tablets or reduce the dosage [see Dosage and Administration (2.2), Warnings and Precautions (5.3)].
1 Indications And Usage
Alprazolam tablets are indicated for the:
- acute treatment of generalized anxiety disorder (GAD) in adults.
- treatment of panic disorder (PD), with or without agoraphobia in adults.
2.1 Dosage In Generalized Anxiety Disorder
The recommended starting oral dosage of alprazolam tablets for the acute treatment of patients with GAD is 0.25 mg to 0.5 mg administered three times daily. Depending upon the response, the dosage may be adjusted at intervals of every 3 to 4 days. The maximum recommended dosage is 4 mg daily (in divided doses).
Use the lowest possible effective dose and frequently assess the need for continued treatment [see Warnings and Precautions (5.2)].
2.2 Dosage In Panic Disorder
The recommended starting oral dosage of alprazolam tablets for the treatment of PD is 0.5 mg three times daily. Depending on the response, the dosage may be increased at intervals of every 3 to 4 days in increments of no more than 1 mg per day.
Controlled trials of alprazolam tablets in the treatment of panic disorder included dosages in the range of 1 mg to 10 mg daily. The mean dosage was approximately 5 mg to 6 mg daily. Occasional patients required as much as 10 mg per day.
For patients receiving doses greater than 4 mg per day, periodic reassessment and consideration of dosage reduction is advised. In a controlled postmarketing dose-response study, patients treated with doses of alprazolam tablets greater than 4 mg per day for 3 months were able to taper to 50% of their total maintenance dose without apparent loss of clinical benefit.
The necessary duration of treatment for PD in patients responding to alprazolam tablets is unknown. After a period of extended freedom from panic attacks, a carefully supervised tapered discontinuation may be attempted, but there is evidence that this may often be difficult to accomplish without recurrence of symptoms and/or the manifestation of withdrawal phenomena [see Dosage and Administration (2.3)].
2.3 Discontinuation Or Dosage Reduction Of Alprazolam Tablets
To reduce the risk of withdrawal reactions, use a gradual taper to discontinue alprazolam tablets or reduce the dosage. If a patient develops withdrawal reactions, consider pausing the taper or increasing the dosage to the previous tapered dosage level. Subsequently decrease the dosage more slowly [see Warnings and Precautions (5.3), Drug Abuse and Dependence (9.3)].
Reduce the dosage by no more than 0.5 mg every 3 days. Some patients may benefit from an even more gradual discontinuation. Some patients may prove resistant to all discontinuation regimens.
In a controlled postmarketing discontinuation study of panic disorder patients which compared the recommended taper schedule with a slower taper schedule, no difference was observed between the groups in the proportion of patients who tapered to zero dose; however, the slower schedule was associated with a reduction in symptoms associated with a withdrawal syndrome.
2.4 Dosage Recommendations In Geriatric Patients
In geriatric patients, the recommended starting oral dosage of alprazolam tablets is 0.25 mg, given 2 or 3 times daily. This may be gradually increased if needed and tolerated. Geriatric patients may be especially sensitive to the effects of benzodiazepines. If adverse reactions occur at the recommended starting dosage, the dosage may be reduced [see Use in Specific Populations (8.5), Clinical Pharmacology (12.3)].
2.5 Dosage Recommendations In Patients With Hepatic Impairment
In patients with hepatic impairment, the recommended starting oral dosage of alprazolam tablets is 0.25 mg, given 2 or 3 times daily. This may be gradually increased if needed and tolerated. If adverse reactions occur at the recommended starting dose, the dosage may be reduced [see Use in Specific Populations (8.6), Clinical Pharmacology (12.3)].
2.6 Dosage Modifications For Drug Interactions
Alprazolam tablets should be reduced to half of the recommended dosage when a patient is started on ritonavir and alprazolam together, or when ritonavir is administered to a patient treated with alprazolam. Increase the alprazolam tablets dosage to the target dose after 10 to 14 days of dosing ritonavir and alprazolam together. It is not necessary to reduce alprazolam tablets dose in patients who have been taking ritonavir for more than 10 to 14 days.
Alprazolam tablets are contraindicated with concomitant use of all strong CYP3A inhibitors, except ritonavir [see Contraindications (4), Warnings and Precautions (5.5)].
3 Dosage Forms And Strengths
Alprazolam Tablets, USP are available as:
- 0.25 mg: White to off white, oval, biconvex tablets with break line on one side and debossed "B704" on the other side.
- 0.5 mg: Light orange to orange, oval, biconvex tablets with break line on one side and debossed "B705" on the other side.
- 1 mg: Light blue to blue, oval, biconvex tablets with break line on one side and debossed "B706" on the other side.
- 2 mg: Light blue to blue, rectangle tablets with three break lines on one side and two notches in between two break lines, debossed "B707" on the other side.
4 Contraindications
Alprazolam tablets are contraindicated in patients:
- with known hypersensitivity to alprazolam or other benzodiazepines. Angioedema has been reported [see Adverse Reactions (6.2)].
- taking strong cytochrome P450 3A (CYP3A) inhibitors (e.g., ketoconazole, itraconazole), except ritonavir [see Dosage and Administration (2.6), Warnings and Precautions (5.5), Drug Interactions (7.1)].
5.1 Risks From Concomitant Use With Opioids
Concomitant use of benzodiazepines, including alprazolam tablets, and opioids may result in profound sedation, respiratory depression, coma, and death. Because of these risks, reserve concomitant prescribing of these drugs in patients for whom alternative treatment options are inadequate.
Observational studies have demonstrated that concomitant use of opioid analgesics and benzodiazepines increases the risk of drug-related mortality compared to use of opioids alone. If a decision is made to prescribe alprazolam tablets concomitantly with opioids, prescribe the lowest effective dosages and minimum durations of concomitant use, and follow patients closely for signs and symptoms of respiratory depression and sedation. In patients already receiving an opioid analgesic, prescribe a lower initial dose of alprazolam tablets than indicated in the absence of an opioid and titrate based on clinical response. If an opioid is initiated in a patient already taking alprazolam tablets, prescribe a lower initial dose of the opioid and titrate based upon clinical response.
Advise both patients and caregivers about the risks of respiratory depression and sedation when alprazolam tablets is used with opioids. Advise patients not to drive or operate heavy machinery until the effects of concomitant use with the opioid have been determined [see Drug Interactions (7.1)].
5.2 Abuse, Misuse, And Addiction
The use of benzodiazepines, including alprazolam tablets, exposes users to the risks of abuse, misuse, and addiction, which can lead to overdose or death. Abuse and misuse of benzodiazepines often (but not always) involve the use of doses greater than the maximum recommended dosage and commonly involve concomitant use of other medications, alcohol, and/or illicit substances, which is associated with an increased frequency of serious adverse outcomes, including respiratory depression, overdose, or death [see Drug Abuse and Dependence (9.2)].
Before prescribing alprazolam tablets and throughout treatment, assess each patient's risk for abuse, misuse, and addiction (e.g., using a standardized screening tool). Use of alprazolam tablets, particularly in patients at elevated risk, necessitates counseling about the risks and proper use of alprazolam tablets along with monitoring for signs and symptoms of abuse, misuse, and addiction. Prescribe the lowest effective dosage; avoid or minimize concomitant use of CNS depressants and other substances associated with abuse, misuse, and addiction (e.g., opioid analgesics, stimulants); and advise patients on the proper disposal of unused drug. If a substance use disorder is suspected, evaluate the patient and institute (or refer them for) early treatment, as appropriate.
5.3 Dependence And Withdrawal Reactions
To reduce the risk of withdrawal reactions, use a gradual taper to discontinue alprazolam tablets or reduce the dosage (a patient-specific plan should be used to taper the dose) [see Dosage and Administration (2.3)].
Patients at an increased risk of withdrawal adverse reactions after benzodiazepine discontinuation or rapid dosage reduction include those who take higher dosages, and those who have had longer durations of use.
Other
Acute Withdrawal Reactions
The continued use of benzodiazepines, including alprazolam tablets, may lead to clinically significant physical dependence. Abrupt discontinuation or rapid dosage reduction of alprazolam tablets after continued use, or administration of flumazenil (a benzodiazepine antagonist) may precipitate acute withdrawal reactions, which can be life-threatening (e.g., seizures) [see Drug Abuse and Dependence (9.3)].
Protracted Withdrawal Syndrome
In some cases, benzodiazepine users have developed a protracted withdrawal syndrome with withdrawal symptoms lasting weeks to more than 12 months [see Drug Abuse and Dependence (9.3)].
Certain adverse clinical events, some life-threatening, are a direct consequence of physical dependence to alprazolam tablets. These include a spectrum of withdrawal symptoms; the most important is seizure [see Drug Abuse and Dependence (9.3)]. Even after relatively short-term use at doses of ≤ 4 mg/day, there is some risk of dependence. Spontaneous reporting system data suggest that the risk of dependence and its severity appear to be greater in patients treated with doses greater than 4 mg/day and for long periods (more than 12 weeks). However, in a controlled postmarketing discontinuation study of panic disorder patients who received alprazolam tablets, the duration of treatment (3 months compared to 6 months) had no effect on the ability of patients to taper to zero dose. In contrast, patients treated with doses of alprazolam tablets greater than 4 mg/day had more difficulty tapering to zero dose than those treated with less than 4 mg/day.
In a controlled clinical trial in which 63 patients were randomized to alprazolam tablets and where withdrawal symptoms were specifically sought, the following were identified as symptoms of withdrawal: heightened sensory perception, impaired concentration, dysosmia, clouded sensorium, paresthesias, muscle cramps, muscle twitch, diarrhea, blurred vision, appetite decrease, and weight loss. Other symptoms, such as anxiety and insomnia, were frequently seen during discontinuation, but it could not be determined if they were due to return of illness, rebound, or withdrawal.
Interdose Symptoms
Early morning anxiety and emergence of anxiety symptoms between doses of alprazolam tablets have been reported in patients with panic disorder taking prescribed maintenance doses. These symptoms may reflect the development of tolerance or a time interval between doses which is longer than the duration of clinical action of the administered dose. In either case, it is presumed that the prescribed dose is not sufficient to maintain plasma levels above those needed to prevent relapse, rebound, or withdrawal symptoms over the entire course of the interdosing interval.
Strong CYP3A Inhibitors
Alprazolam tablets are contraindicated in patients receiving strong inhibitors of CYP3A (such as azole antifungal agents), except ritonavir [see Contraindications (4)]. Ketoconazole and itraconazole have been shown in vivo to increase plasma alprazolam concentrations 3.98 fold and 2.70 fold, respectively.
Dosage adjustment is necessary when alprazolam tablets and ritonavir are initiated concomitantly or when ritonavir is added to a stable dosage of alprazolam tablets [see Dosage and Administration (2.6), Drug Interactions (7.1)].
Drugs demonstrated to be CYP3A inhibitors on the basis of clinical studies involving alprazolam: nefazodone, fluvoxamine, and cimetidine [see Drug Interaction (7.1), Clinical Pharmacology (12.3)]. Use caution and consider dose reduction of alprazolam tablets, as appropriate, during co-administration with these drugs.
Adverse Reactions Reported as Reasons for Discontinuation in Treatment of Panic Disorder in Placebo-Controlled Trials
In a larger database comprised of both controlled and uncontrolled studies in which 641 patients received alprazolam tablets, discontinuation-emergent symptoms which occurred at a rate of over 5% in patients treated with alprazolam tablets and at a greater rate than the placebo-treated group are shown in Table 3.
| Alprazolam tablets-treated Patients n=641 | |
|---|---|
| n=number of patients. | |
| Nervous system disorders | |
| Insomnia | 29.5% |
| Light-headedness | 19.3% |
| Abnormal involuntary movement | 17.3% |
| Headache | 17.0% |
| Muscular twitching | 6.9% |
| Impaired coordination | 6.6% |
| Muscle tone disorders | 5.9% |
| Weakness | 5.8% |
| Psychiatric disorders | |
| Anxiety | 19.2% |
| Fatigue and Tiredness | 18.4% |
| Irritability | 10.5% |
| Cognitive disorder | 10.3% |
| Memory impairment | 5.5% |
| Depression | 5.1% |
| Confusional state | 5.0% |
| Gastrointestinal disorders | |
| Nausea/Vomiting | 16.5% |
| Diarrhea | 13.6% |
| Decreased salivation | 10.6% |
| Metabolism and nutrition disorders | |
| Weight loss | 13.3% |
| Decreased appetite | 12.8% |
| Dermatological disorders | |
| Sweating | 14.4% |
| Cardiovascular disorders | |
| Tachycardia | 12.2% |
| Special Senses | |
| Blurred vision | 10.0% |
There have also been reports of withdrawal seizures upon rapid decrease or abrupt discontinuation of alprazolam tablets [see Warning and Precautions (5.2) and Drug Abuse and Dependence (9.3)]. Paradoxical reactions such as stimulation, increased muscle spasticity, sleep disturbances, hallucinations, and other adverse behavioral effects such as agitation, rage, irritability, and aggressive or hostile behavior have been reported rarely. In many of the spontaneous case reports of adverse behavioral effects, patients were receiving other CNS drugs concomitantly and/or were described as having underlying psychiatric conditions. Should any of the above events occur, alprazolam should be discontinued. Isolated published reports involving small numbers of patients have suggested that patients who have borderline personality disorder, a prior history of violent or aggressive behavior, or alcohol or substance abuse may be at risk for such events. Instances of irritability, hostility, and intrusive thoughts have been reported during discontinuation of alprazolam in patients with post-traumatic stress disorder.
Pregnancy Exposure Registry
There is a pregnancy exposure registry that monitors pregnancy outcomes in women exposed to alprazolam tablets during pregnancy. Healthcare providers are encouraged to register patients by calling the National Pregnancy Registry for Other Psychiatric Medications at 1-866-961-2388 or visiting online at https://womensmentalhealth.org/clinical-and-research-programs/pregnancyregistry/othermedications/.
Risk Summary
Neonates born to mothers using benzodiazepines during the later stages of pregnancy have been reported to experience symptoms of sedation and neonatal withdrawal [see Warnings and Precautions (5.4), Clinical Considerations)]. Overall available data from published observational studies of pregnant women exposed to alprazolam have not established a drug-associated risk of major birth defects, miscarriage, or adverse maternal or fetal outcomes (see Data).
The estimated background risk of major birth defects and miscarriage for the indicated population is unknown. All pregnancies have a background risk of birth defect, loss, or other adverse outcomes. In the U.S. general population, the estimated risk of major birth defects and of miscarriage in clinically recognized pregnancies is 2% to 4% and 15% to 20%, respectively.
Clinical Considerations
Fetal/Neonatal adverse reactions
Benzodiazepines cross the placenta and may produce respiratory depression and sedation in neonates. Monitor neonates exposed to benzodiazepines during pregnancy and labor for signs of sedation, respiratory depression, withdrawal, and feeding problems and manage accordingly [see Warnings and Precautions (5.4)].
Data
Human Data
Published data from observational studies on the use of benzodiazepines during pregnancy do not report a clear association with benzodiazepines and major birth defects. Although early studies reported an increased risk of congenital malformations with diazepam and chlordiazepoxide, there was no consistent pattern noted. In addition, the majority of recent case-control and cohort studies of benzodiazepine use during pregnancy, which were adjusted for confounding exposures to alcohol, tobacco, and other medications, have not confirmed these findings. At this time, there is no clear evidence that alprazolam exposure in early pregnancy can cause major birth defects. Neonates exposed to benzodiazepines during the late third trimester of pregnancy or during labor have been reported to exhibit sedation and neonatal withdrawal symptoms.
Risk Summary
Limited data from published literature reports the presence of alprazolam in human breast milk. There are reports of sedation and withdrawal symptoms in breastfed neonates and infants exposed to alprazolam. The effects of alprazolam on lactation are unknown.
Because of the potential for serious adverse reactions, including sedation and withdrawal symptoms in breastfed neonates and infants, advise patients that breastfeeding is not recommended during treatment with alprazolam tablets.
Acute Withdrawal Signs and Symptoms
Acute withdrawal signs and symptoms associated with benzodiazepines have included abnormal involuntary movements, anxiety, blurred vision, depersonalization, depression, derealization, dizziness, fatigue, gastrointestinal adverse reactions (e.g., nausea, vomiting, diarrhea, weight loss, decreased appetite), headache, hyperacusis, hypertension, irritability, insomnia, memory impairment, muscle pain and stiffness, panic attacks, photophobia, restlessness, tachycardia, and tremor. More severe acute withdrawal signs and symptoms, including life-threatening reactions, have included catatonia, convulsions, delirium tremens, depression, hallucinations, mania, psychosis, seizures, and suicidality.
Protracted Withdrawal Syndrome
Protracted withdrawal syndrome associated with benzodiazepines is characterized by anxiety, cognitive impairment, depression, insomnia, formication, motor symptoms (e.g., weakness, tremor, muscle twitches), paresthesia, and tinnitus that persists beyond 4 to 6 weeks after initial benzodiazepine withdrawal. Protracted withdrawal symptoms may last weeks to more than 12 months. As a result, there may be difficulty in differentiating withdrawal symptoms from potential re-emergence or continuation of symptoms for which the benzodiazepine was being used.
Tolerance
Tolerance to alprazolam tablets may develop from continued therapy. Tolerance is a physiological state characterized by a reduced response to a drug after repeated administration (i.e., a higher dose of a drug is required to produce the same effect that was once obtained at a lower dose). Tolerance to the therapeutic effect of alprazolam tablets may develop; however, little tolerance develops to the amnestic reactions and other cognitive impairments caused by benzodiazepines.
Absorption
Following oral administration, peak plasma concentration of alprazolam (Cmax) occurs in 1 to 2 hours post dose.
Distribution
Alprazolam is 80% bound to human serum protein, and albumin accounts for the majority of the binding.
Elimination
The mean plasma elimination half-life (T1/2) of alprazolam is approximately 11.2 hours (range: 6.3 to 26.9 hours) in healthy adults.
Metabolism
Alprazolam is extensively metabolized in humans, primarily by cytochrome P450 3A4 (CYP3A4), to 2 major active metabolites in the plasma: 4-hydroxyalprazolam and α-hydroxyalprazolam. The plasma circulation levels of the two active metabolites are less than 4% of the parent. The reported relative potencies in benzodiazepine receptor binding experiments and in animal models of induced seizure inhibition are 0.20 and 0.66, respectively, for 4-hydroxyalprazolam and α-hydroxyalprazolam. The low concentrations and low potencies of 4-hydroxyalprazolam and α-hydroxyalprazolam indicate that they unlikely contribute much to the effects of alprazolam. A benzophenone derived from alprazolam is also found in humans. Their half-lives appear to be similar to that of alprazolam.
Excretion
Alprazolam and its metabolites are excreted primarily in the urine.
Specific Populations
Geriatric Patients
The mean T1/2 of alprazolam was 16.3 hours (range: 9.0 to 26.9 hours) in healthy elderly subjects compared to 11.0 hours (range: 6.3 to 15.8 hours, n=16) in healthy younger adult subjects.
Obese Patients
The mean T1/2 of alprazolam was 21.8 hours (range: 9.9 to 40.4 hours) in a group of obese subjects.
Patients with Hepatic Impairment
The mean T1/2 of alprazolam was 19.7 hours (range: 5.8 to 65.3 hours) in patients with alcoholic liver disease.
Racial or Ethnic Groups
Maximal concentrations and T1/2 of alprazolam are approximately 15% and 25% higher in Asians compared to Caucasians.
Smoking
Alprazolam concentrations may be reduced by up to 50% in smokers compared to non-smokers.
Drug Interaction Studies
In Vivo Studies
Most of the interactions that have been documented with alprazolam are with drugs that modulate CYP3A4 activity.
Compounds that are inhibitors or inducers of CYP3A would be expected to increase or decrease plasma alprazolam concentrations, respectively. Drug products that have been studied in vivo, along with their effect on increasing alprazolam AUC, are as follows: ketoconazole, 3.98 fold; itraconazole, 2.66 fold; nefazodone, 1.98 fold; fluvoxamine, 1.96 fold; and erythromycin, 1.61 fold [see Contraindications (4), Warnings and Precautions (5.5), Drug Interactions (7.2)]. Other studied drugs include:
Cimetidine: Coadministration of cimetidine increased the maximum plasma concentration of alprazolam by 82%, decreased clearance by 42%, and increased T1/2 by 16%.
Fluoxetine: Coadministration of fluoxetine with alprazolam increased the maximum plasma concentration of alprazolam by 46%, decreased clearance by 21%, increased T1/2 by 17%, and decreased measured psychomotor performance.
Oral Contraceptives: Coadministration of oral contraceptives increased the maximum plasma concentration of alprazolam by 18%, decreased clearance by 22%, and increased T1/2 by 29%.
Carbamazepine: The oral clearance of alprazolam (given in a 0.8 mg single dose) was increased from 0.90±0.21 mL/min/kg to 2.13±0.54 mL/min/kg and the elimination T1/2 was shortened (from 17.1±4.9 to 7.7±1.7 hour) following administration of 300 mg per day carbamazepine for 10 days [see Drug Interactions (7.2)]. However, the carbamazepine dose used in this study was fairly low compared to the recommended doses (1000-1200 mg per day); the effect at usual carbamazepine doses is unknown.
Ritonavir: Interactions involving HIV protease inhibitors (e.g., ritonavir) and alprazolam are complex and time dependent. Short-term low doses of ritonavir (4 doses of 200 mg) increased mean AUC of alprazolam by about 2.5-fold, and did not significantly affect Cmax of alprazolam. The elimination T1/2 was prolonged (30 hours versus 13 hours). However, upon extended exposure to ritonavir (500 mg, twice daily for 10 days), CYP3A induction offset this inhibition. Alprazolam AUC and Cmax was reduced by 12% and 16%, respectively, in the presence of ritonavir. The elimination T1/2 of alprazolam was not significantly changed [see Warnings and Precautions (5.5)].
Sertraline: A single dose of alprazolam 1 mg and steady state dose of sertraline (50 mg to 150 mg per day) did not reveal any clinically significant changes in the pharmacokinetics of alprazolam.
Imipramine and Desipramine: The steady state plasma concentrations of imipramine and desipramine have been reported to be increased an average of 31% and 20%, respectively, by the concomitant administration of alprazolam tablets in doses up to 4 mg per day.
Warfarin: Alprazolam did not affect the prothrombin or plasma warfarin levels in male volunteers administered sodium warfarin orally.
In Vitro Studies
Data from in vitro studies of alprazolam suggest a possible drug interaction of alprazolam with paroxetine. The ability of alprazolam to induce human hepatic enzyme systems has not yet been determined.
Carcinogenesis
No evidence of carcinogenic potential was observed in rats or mice administered alprazolam for 2-years at doses up to 30 and 10 mg/kg/day respectively. These doses are 29 times and 4.8 times the maximum recommended human dose of 10 mg/day based on mg/m2 body surface area, respectively.
Mutagenesis
Alprazolam was negative in the in vitro Ames bacterial reverse mutation assay and DNA Damage/Alkaline Elution Assay and in vivo rat micronucleus genetic toxicology assays.
Impairment of Fertility
Alprazolam produced no impairment of fertility in rats at doses up to 5 mg/kg per day, which is approximately 5 times the maximum recommended human dose of 10 mg per day based on mg/m2 body surface area.
Risks from Concomitant Use with Opioids
Advise both patients and caregivers about the risks of potentially fatal respiratory depression and sedation when alprazolam tablets are used with opioids and not to use such drugs concomitantly unless supervised by a healthcare provider. Advise patients not to drive or operate heavy machinery until the effects of concomitant use with the opioid have been determined [see Warnings and Precautions (5.1), Drug Interactions (7.1)].
Abuse, Misuse, and Addiction
Inform patients that the use of alprazolam tablets, even at recommended dosages, exposes users to risks of abuse, misuse, and addiction, which can lead to overdose and death, especially when used in combination with other medications (e.g., opioid analgesics), alcohol, and/or illicit substances. Inform patients about the signs and symptoms of benzodiazepine abuse, misuse, and addiction; to seek medical help if they develop these signs and/or symptoms; and on the proper disposal of unused drug [see Warnings and Precautions (5.2), Drug Abuse and Dependence (9.2)].
Withdrawal Reactions
Inform patients that the continued use of alprazolam tablets may lead to clinically significant physical dependence and that abrupt discontinuation or rapid dosage reduction of alprazolam tablets may precipitate acute withdrawal reactions, which can be life-threatening. Inform patients that in some cases, patients taking benzodiazepines have developed a protracted withdrawal syndrome with withdrawal symptoms lasting weeks to more than 12 months. Instruct patients that discontinuation or dosage reduction of alprazolam tablets may require a slow taper [see Warnings and Precautions (5.3), Drug Abuse and Dependence (9.3)].
Effects on Driving and Operating Machinery
Advise patients not to drive a motor vehicle or operate heavy machinery while taking alprazolam tablets due to its CNS depressant effects. Also advise patients to avoid use of alcohol or other CNS depressants while taking alprazolam tablets [see Warnings and Precautions (5.3)].
Patients with Depression
Advise patients, their families, and caregivers to look for signs of suicidality or worsening depression, and to inform the patient's healthcare provider immediately [see Warnings and Precautions (5.6)].
Concomitant Medications
Advise patients to inform their healthcare provider of all medicines they take, including prescription and nonprescription medications, vitamins and herbal supplements [see Drug Interactions (7)].
Pregnancy
Benzodiazepines cross the placenta and may produce respiratory depression and sedation in neonates. Advise mothers using alprazolam tablets to monitor neonates for signs of sedation, respiratory depression, withdrawal symptoms, and feeding problems. Instruct patients to inform their healthcare provider if they are pregnant or intend to become pregnant during treatment with alprazolam tablets [see Warnings and Precautions (5.4)]. Advise patients that there is a pregnancy exposure registry that monitors pregnancy outcomes in women exposed to alprazolam tablets during pregnancy [see Use in Specific Populations (8.1)].
Lactation
Advise women not to breastfeed during treatment with alprazolam tablets [see Use in Specific Populations (8.2)].
Manufactured By:
Centaur Pharmaceuticals Pvt. Ltd.
Pune – 411057, INDIA.
Distributed by:
Breckenridge Pharmaceutical, Inc.
Berlin, CT 06037
211262
5.4 Effects On Driving And Operating Machinery
Because of its CNS depressant effects, patients receiving alprazolam tablets should be cautioned against engaging in hazardous occupations or activities requiring complete mental alertness such as operating machinery or driving a motor vehicle. For the same reason, patients should be cautioned about the concomitant use of alcohol and other CNS depressant drugs during treatment with alprazolam tablets [see Drug Interactions (7.1)].
5.5 Neonatal Sedation And Withdrawal Syndrome
Use of alprazolam tablets during later stages of pregnancy can result in sedation (respiratory depression, lethargy, hypotonia) and withdrawal symptoms (hyperreflexia, irritability, restlessness, tremors, inconsolable crying, and feeding difficulties) in the neonate. Observe newborns for signs of sedation and neonatal withdrawal syndrome and manage accordingly [see Use in Specific Populations (8.1)].
5.6 Interaction With Drugs That Inhibit Metabolism Via Cytochrome P450 3A
The initial step in alprazolam metabolism is hydroxylation catalyzed by cytochrome P450 3A (CYP3A). Drugs that inhibit this metabolic pathway may have a profound effect on the clearance of alprazolam.
5.7 Patients With Depression
Benzodiazepines may worsen depression. Panic disorder has been associated with primary and secondary major depressive disorders and increased reports of suicide among untreated patients. Consequently, appropriate precautions (e.g., limiting the total prescription size and increased monitoring for suicidal ideation) should be considered in patients with depression.
5.8 Mania
Episodes of hypomania and mania have been reported in association with the use of alprazolam tablets in patients with depression [see Adverse Reactions (6.2)].
5.9 Risk In Patients With Impaired Respiratory Function
There have been reports of death in patients with severe pulmonary disease shortly after the initiation of treatment with alprazolam tablets. Closely monitor patients with impaired respiratory function. If signs and symptoms of respiratory depression, hypoventilation, or apnea occur, discontinue alprazolam tablets.
6 Adverse Reactions
The following clinically significant adverse reactions are described elsewhere in the labeling:
- Risks from Concomitant Use with Opioids [see Warnings and Precautions (5.1)]
- Abuse, Misuse, and Addiction [see Warnings and Precautions (5.2)]
- Dependence and Withdrawal Reactions [see Warnings and Precautions (5.3)]
- Effects on Driving and Operating Machinery [see Warnings and Precautions (5.4)]
- Neonatal Sedation and Withdrawal Syndrome [see Warnings and Precautions (5.5)]
- Patients with Depression [see Warnings and Precautions (5.7)]
- Risks in Patients with Impaired Respiratory Function [see Warnings and Precautions (5.9)]
6.1 Clinical Trials Experience
Because clinical trials are conducted under widely varying conditions, adverse reaction rates observed in the clinical trials of a drug cannot be directly compared to rates in the clinical trials of another drug and may not reflect the rates observed in practice.
The data in the two tables below are estimates of adverse reaction incidence among adult patients who participated in:
- 4-week placebo-controlled clinical studies with alprazolam tablets dosages up to 4 mg per day for the acute treatment of generalized anxiety disorder (Table 1)
- Short-term (up to 10 weeks) placebo-controlled clinical studies with alprazolam tablets dosages up to 10 mg per day for panic disorder, with or without agoraphobia (Table 2).
| Alprazolam tablets n=565 | Placebo n=505 | |
|---|---|---|
| Nervous system disorders | ||
| Drowsiness | 41% | 22% |
| Light-headedness | 21% | 19% |
| Dizziness | 2% | 1% |
| Akathisia | 2% | 1% |
| Gastrointestinal disorders | ||
| Dry mouth | 15% | 13% |
| Increased salivation | 4% | 2% |
| Cardiovascular disorders | ||
| Hypotension | 5% | 2% |
| Skin and subcutaneous tissue disorders | ||
| Dermatitis/allergy | 4% | 3% |
In addition to the adverse reactions (i.e., greater than 1%) enumerated in the table above for patients with generalized anxiety disorder, the following adverse reactions have been reported in association with the use of benzodiazepines: dystonia, irritability, concentration difficulties, anorexia, transient amnesia or memory impairment, loss of coordination, fatigue, seizures, sedation, slurred speech, jaundice, musculoskeletal weakness, pruritus, diplopia, dysarthria, changes in libido, menstrual irregularities, incontinence and urinary retention.
| Alprazolam Tablets n=1388 | Placebo n=1231 | |
|---|---|---|
| Drowsiness | 77% | 43% |
| Fatigue and Tiredness | 49% | 42% |
| Impaired Coordination | 40% | 18% |
| Irritability | 33% | 30% |
| Memory Impairment | 33% | 22% |
| Cognitive Disorder | 29% | 21% |
| Decreased Libido | 14% | 8% |
| Dysarthria | 23% | 6% |
| Confusional state | 10% | 8% |
| Increased libido | 8% | 4% |
| Change in libido (not specified) | 7% | 6% |
| Disinhibition | 3% | 2% |
| Talkativeness | 2% | 1% |
| Derealization | 2% | 1% |
| Gastrointestinal disorders | ||
| Constipation | 26% | 15% |
| Increased salivation | 6% | 4% |
| Skin and subcutaneous tissue disorders | ||
| Rash | 11% | 8% |
| Other | ||
| Increased appetite | 33% | 23% |
| Decreased appetite | 28% | 24% |
| Weight gain | 27% | 18% |
| Weight loss | 23% | 17% |
| Micturition difficulties | 12% | 9% |
| Menstrual disorders | 11% | 9% |
| Sexual dysfunction | 7% | 4% |
| Incontinence | 2% | 1% |
In addition to the reactions (i.e., greater than 1%) enumerated in the table above for patients with panic disorder, the following adverse reactions have been reported in association with the use of alprazolam tablets: seizures, hallucinations, depersonalization, taste alterations, diplopia, elevated bilirubin, elevated hepatic enzymes, and jaundice.
6.2 Postmarketing Experience
The following adverse reactions have been identified during postapproval use of alprazolam tablets. Because these reactions are reported voluntarily from a population of uncertain size, it is not always possible to reliably estimate their frequency or establish a causal relationship to drug exposure.
Endocrine disorders: Hyperprolactinemia
General disorders and administration site conditions: Edema peripheral
Hepatobiliary disorders: Hepatitis, hepatic failure
Investigations: Liver enzyme elevations
Psychiatric disorders: Hypomania, mania
Reproductive system and breast disorders: Gynecomastia, galactorrhea
Skin and subcutaneous tissue disorders: Photosensitivity reaction, angioedema, Stevens-Johnson syndrome
7.1 Drugs Having Clinically Important Interactions With Alprazolam Tablets
Table 4 includes clinically significant drug interactions with alprazolam tablets [see Clinical Pharmacology (12.3)].
| Opioids | |
| Clinical implication | The concomitant use of benzodiazepines and opioids increases the risk of respiratory depression because of actions at different receptor sites in the CNS that control respiration. Benzodiazepines interact at gamma-aminobutyric acid (GABAA) sites and opioids interact primarily at mu receptors. When benzodiazepines and opioids are combined, the potential for benzodiazepines to significantly worsen opioid-related respiratory depression exists. |
| Prevention or management | Limit dosage and duration of concomitant use of alprazolam tablets and opioids, and monitor patients closely for respiratory depression and sedation [see Warnings and Precautions (5.1)]. |
| Examples | Morphine, buprenorphine, hydromorphone, oxymorphone, oxycodone, fentanyl, methadone, alfentanil, butorpenol, codeine, dihydrocodeine, meperidine, pentazocine, remifentanil, sufentanil, tapentadol, tramadol. |
| CNS Depressants | |
| Clinical implication | The benzodiazepines, including alprazolam, produce additive CNS depressant effects when coadministered with other CNS depressants. |
| Prevention or management | Limit dosage and duration of alprazolam tablets during concomitant use with CNS depressants [see Warnings and Precautions (5.3)]. |
| Examples | Psychotropic medications, anticonvulsants, antihistaminics, ethanol, and other drugs which themselves produce CNS depression. |
| Strong Inhibitors of CYP3A (except ritonavir) | |
| Clinical implication | Concomitant use of alprazolam tablets with strong CYP3A inhibitors has a profound effect on the clearance of alprazolam, resulting in increased concentrations of alprazolam and increased risk of adverse reactions [see Clinical Pharmacology (12.3)]. |
| Prevention or management | Concomitant use of alprazolam tablets with a strong CYP3A4 inhibitor (except ritonavir) is contraindicated [see Contraindications (4), Warnings and Precautions (5.5)]. |
| Examples | Ketoconazole, itraconazole, clarithromycin |
| Moderate or Weak Inhibitors of CYP3A | |
| Clinical implication | Concomitant use of alprazolam tablets with CYP3A inhibitors may increase the concentrations of alprazolam tablets, resulting in increased risk of adverse reactions of alprazolam [see Clinical Pharmacology (12.3)]. |
| Prevention or management | Avoid use and consider appropriate dose reduction when alprazolam tablets is coadministered with a moderate or weak CYP3A inhibitor [see Warnings and Precautions (5.5)]. |
| Examples | Nefazodone, fluvoxamine, cimetidine, erythromycin |
| CYP3A Inducers | |
| Clinical implication | Concomitant use of CYP3A inducers can increase alprazolam metabolism and therefore can decease plasma levels of alprazolam [see Clinical Pharmacology (12.3)]. |
| Prevention or management | Caution is recommended during coadministration with alprazolam tablets. |
| Examples | Carbamazepine, phenytoin |
| Ritonavir | |
| Clinical implication | Interactions involving ritonavir and alprazolam are complex and time dependent. Short term administration of ritonavir increased alprazolam exposure due to CYP3A4 inhibition. Following long term treatment of ritonavir (>10 to 14 days), CYP3A4 induction offsets this inhibition. Alprazolam exposure was not meaningfully affected in the presence of ritonavir. |
| Prevention or management | Reduce alprazolam tablets dosage when ritonavir and alprazolam are initiated concomitantly, or when ritonavir is added to a regimen where alprazolam is stabilized. Increase alprazolam tablets dosage to the target dosage after 10 to 14 days of dosing ritonavir and alprazolam tablets concomitantly. No dosage adjustment of alprazolam tablets is necessary in patients receiving ritonavir for more than 10 to14 days [see Dosage and Administration (2.6)]. Concomitant use of alprazolam tablets with a strong CYP3A inhibitor, except ritonavir, is contraindicated [see Contraindications (4), Warnings and Precautions (5.5)]. |
| Digoxin | |
| Clinical implication | Increased digoxin concentrations have been reported when alprazolam was given, especially in geriatric patients( >65 years of age). |
| Prevention or management | In patients on digoxin therapy, measure serum digoxin concentrations before initiating alprazolam tablets. Continue monitoring digoxin serum concentration and toxicity frequently. Reduce the digoxin dose if necessary. |
7.2 Drug/Laboratory Test Interactions
Although interactions between benzodiazepines and commonly employed clinical laboratory tests have occasionally been reported, there is no consistent pattern for a specific drug or specific test.
8.4 Pediatric Use
Safety and effectiveness of alprazolam tablets have not been established in pediatric patients.
8.5 Geriatric Use
Alprazolam-treated geriatric patients had higher plasma concentrations of alprazolam (due to reduced clearance) compared to younger adult patients receiving the same doses. Therefore, dosage reduction of alprazolam tablets is recommended in geriatric patients [see Dosage and Administration (2.4) and Clinical Pharmacology (12.3)].
8.6 Hepatic Impairment
Patients with alcoholic liver disease exhibit a longer elimination half-life (19.7 hours), compared to healthy subjects (11.4 hours). This may be caused by decreased clearance of alprazolam in patients with alcoholic liver disease. Dosage reduction of alprazolam tablets is recommended in patients with hepatic impairment [see Dosage and Administration (2.4), Clinical Pharmacology (12.3)].
9.1 Controlled Substance
Alprazolam tablets contain alprazolam, which is a Schedule IV controlled substance.
9.2 Abuse
Alprazolam tablets are a benzodiazepine and a CNS depressant with a potential for abuse and addiction. Abuse is the intentional, non-therapeutic use of a drug, even once, for its desirable psychological or physiological effects. Misuse is the intentional use, for therapeutic purposes, of a drug by an individual in a way other than prescribed by a health care provider or for whom it was not prescribed. Drug addiction is a cluster of behavioral, cognitive, and physiological phenomena that may include a strong desire to take the drug, difficulties in controlling drug use (e.g., continuing drug use despite harmful consequences, giving a higher priority to drug use than other activities and obligations), and possible tolerance or physical dependence. Even taking benzodiazepines as prescribed may put patients at risk for abuse and misuse of their medication. Abuse and misuse of benzodiazepines may lead to addiction.
Abuse and misuse of benzodiazepines often (but not always) involve the use of doses greater than the maximum recommended dosage and commonly involve concomitant use of other medications, alcohol, and/or illicit substances, which is associated with an increased frequency of serious adverse outcomes, including respiratory depression, overdose, or death. Benzodiazepines are often sought by individuals who abuse drugs and other substances, and by individuals with addictive disorders [see Warnings and Precautions (5.2)].
The following adverse reactions have occurred with benzodiazepine abuse and/or misuse: abdominal pain, amnesia, anorexia, anxiety, aggression, ataxia, blurred vision, confusion, depression, disinhibition, disorientation, dizziness, euphoria, impaired concentration and memory, indigestion, irritability, muscle pain, slurred speech, tremors, and vertigo.
The following severe adverse reactions have occurred with benzodiazepine abuse and/or misuse: delirium, paranoia, suicidal ideation and behavior, seizures, coma, breathing difficulty, and death. Death is more often associated with polysubstance use (especially benzodiazepines with other CNS depressants such as opioids and alcohol).
9.3 Dependence
Alprazolam tablets may produce physical dependence from continued therapy. Physical dependence is a state that develops as a result of physiological adaptation in response to repeated drug use, manifested by withdrawal signs and symptoms after abrupt discontinuation or a significant dose reduction of a drug. Abrupt discontinuation or rapid dosage reduction of benzodiazepines or administration of flumazenil, a benzodiazepine antagonist, may precipitate acute withdrawal reactions, including seizures, which can be life-threatening. Patients at an increased risk of withdrawal adverse reactions after benzodiazepine discontinuation or rapid dosage reduction include those who take higher dosages (i.e., higher and/or more frequent doses) and those who have had longer durations of use [see Warnings and Precautions (5.3)].
To reduce the risk of withdrawal reactions, use a gradual taper to discontinue alprazolam tablets or reduce the dosage [see Dosage and Administration (2.3), Warnings and Precautions (5.3)].
10.1 Clinical Experience
Manifestations of alprazolam overdosage include somnolence, confusion, impaired coordination, diminished reflexes, and coma. Death has been reported in association with overdoses of alprazolam by itself, as it has with other benzodiazepines. In addition, fatalities have been reported in patients who have overdosed with a combination of a single benzodiazepine, including alprazolam, and alcohol; alcohol levels seen in some of these patients have been lower than those usually associated with alcohol-induced fatality.
10.2 Management Of Overdose
In case of an overdosage, consult a Certified Poison Control Center at 1-800-222-1222 for latest recommendations.
As in all cases of drug overdosage, respiration, pulse rate, and blood pressure should be monitored. General supportive measures should be employed, along with immediate gastric lavage. Intravenous fluids should be administered and an adequate airway maintained. As with the management of intentional overdosing with any drug, it should be borne in mind that multiple agents may have been ingested.
Flumazenil may be useful in situations when an overdose with a benzodiazepine is known or suspected. Prior to the administration of flumazenil, necessary measures should be instituted to secure airway, ventilation, and intravenous access. Flumazenil is intended as an adjunct to, not as a substitute for, proper management of benzodiazepine overdose. Patients treated with flumazenil should be monitored for re-sedation, respiratory depression, and other residual benzodiazepine effects for an appropriate period after treatment. The prescriber should be aware of a risk of seizure in association with flumazenil treatment, particularly in long-term benzodiazepine users and in cyclic antidepressant overdose. The complete flumazenil package insert should be consulted prior to use.
11 Description
Alprazolam Tablets, USP, contain alprazolam which is a triazolo analog of the 1,4 benzodiazepine class of central nervous system-active compounds.
The chemical name of alprazolam is 8-Chloro-1-methyl-6-phenyl-4H-s-triazolo [4,3-α] [1,4] benzodiazepine.
The structural formula is:
Alprazolam is a white crystalline powder, which is soluble in methanol or ethanol but which has no appreciable solubility in water at physiological pH.
Each Alprazolam tablet, USP, for oral administration, contains 0.25 mg, 0.5 mg, 1 mg, or 2 mg of alprazolam.
Alprazolam Tablets, USP, 2 mg, are multi-scored and may be divided as shown below:
| Complete 2 mg Tablet | Two 1 mg segments | Four 0.5 mg segments |
Inactive ingredients: Lactose monohydrate, microcrystalline cellulose, sodium starch glycolate, hydroxyl propyl cellulose, sodium lauryl sulfate and magnesium stearate. In addition, the 0.5 mg tablet contains FD&C Yellow 6 lake and the 1 mg and 2 mg tablets contain FD&C Blue 2 lake.
12.1 Mechanism Of Action
Alprazolam is a 1,4 benzodiazepine. Alprazolam exerts its effect for the acute treatment of generalized anxiety disorder and panic disorder through binding to the benzodiazepine site of gamma-aminobutyric acid-A (GABAA) receptors in the brain and enhances GABA-mediated synaptic inhibition.
12.3 Pharmacokinetics
Plasma levels of alprazolam increase proportionally to the dose over the range of 0.5 to 3.0 mg.
13.2 Animal Toxicology And/Or Pharmacology
When rats were treated with alprazolam at oral doses of 3 mg, 10 mg, and 30 mg/kg/day (3 to 29 times the maximum recommended human dose based on mg/m2 body surface area) for 2 years, a tendency for a dose related increase in the number of cataracts was observed in females and a tendency for a dose related increase in corneal vascularization was observed in males. These lesions did not appear until after 11 months of treatment.
14.1 Generalized Anxiety Disorder
Alprazolam tablets were compared to placebo in double-blind clinical studies (doses up to 4 mg per day) in patients with a diagnosis of anxiety or anxiety with associated depressive symptomatology. Alprazolam tablets were significantly better than placebo at each of the evaluation periods of these 4-week studies as judged by the following psychometric instruments: Physician's Global Impressions, Hamilton Anxiety Rating Scale, Target Symptoms, Patient's Global Impressions, and Self-Rating Symptom Scale.
14.2 Panic Disorder
The effectiveness of alprazolam tablets in the treatment of panic disorder was studied in 3 short-term, placebo-controlled studies (up to 10 weeks) in patients with diagnoses closely corresponding to DSM-III-R criteria for panic disorder.
The average dose of alprazolam tablets was 5 mg to 6 mg per day in 2 of the studies, and the doses of alprazolam tablets were fixed at 2 mg and 6 mg per day in the third study. In all 3 studies, alprazolam tablets were superior to placebo on a variable defined as "the number of patients with zero panic attacks" (range, 37% to 83% met this criterion), as well as on a global improvement score. In 2 of the 3 studies, alprazolam tablets were superior to placebo on a variable defined as "change from baseline on the number of panic attacks per week" (range, 3.3 to 5.2), and also on a phobia rating scale. A subgroup of patients who improved on alprazolam tablets during short-term treatment in 1 of these trials was continued on an open basis up to 8 months, without apparent loss of benefit.
16 How Supplied/Storage And Handling
NDC: 71335-1477-1: 30 Tablets in a BOTTLE
NDC: 71335-1477-2: 60 Tablets in a BOTTLE
NDC: 71335-1477-3: 90 Tablets in a BOTTLE
NDC: 71335-1477-4: 100 Tablets in a BOTTLE
NDC: 71335-1477-5: 10 Tablets in a BOTTLE
NDC: 71335-1477-6: 120 Tablets in a BOTTLE
NDC: 71335-1477-7: 40 Tablets in a BOTTLE
17 Patient Counseling Information
Advise the patient to read the FDA-approved patient labeling (Medication Guide).
Spl Medguide
| MEDICATION GUIDE Alprazolam (al pra' zoe lam) Tablets, USP, C-IV | ||
What is the most important information I should know about alprazolam tablets?
Tell your healthcare provider about all the medicines you take, including prescription and over-the-counter medicines, vitamins, and herbal supplements. Taking alprazolam tablets with certain other medicines can cause side effects or affect how well alprazolam tablets or the other medicines work. Do not start or stop other medicines without talking to your healthcare provider. How should I take alprazolam tablets? Alprazolam tablets may cause serious side effects, including: How should I store alprazolam tablets? Active ingredient: alprazolam Inactive ingredients: Lactose monohydrate, microcrystalline cellulose, sodium starch glycolate, hydroxyl propyl cellulose, sodium lauryl sulfate and magnesium stearate. In addition, the 0.5 mg tablet contains FD&C Yellow 6 lake and the 1 mg and 2 mg tablets contain FD&C Blue 2 lake. For more information, go to www.bpirx.com or call Breckenridge Pharmaceutical, Inc. 1-800-367-3395. This Medication Guide has been approved by the U.S. Food and Drug Administration. Manufactured By: Centaur Pharmaceuticals Pvt. Ltd. Pune – 411057, INDIA. Distributed by: Breckenridge Pharmaceutical, Inc. Berlin, CT 06037 Revised: 04/2021 | ||
Package Label.Principal Display Panel
Alprazolam 2mg(CIV) Tablet
* Please review the disclaimer below.

