Product Images Rabeprazole Sodium
View Photos of Packaging, Labels & Appearance
Product Label Images
The following 6 images provide visual information about the product associated with Rabeprazole Sodium NDC 71335-1558 by Bryant Ranch Prepack, such as packaging, labeling, and the appearance of the drug itself. This resource could be helpful for medical professionals, pharmacists, and patients seeking to verify medication information and ensure they have the correct product.
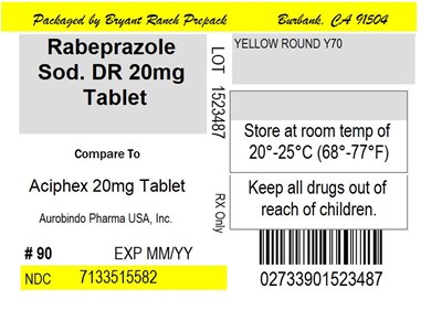
Label Image - lbl713351558

This is a description of a medication called Rabeprazole. It is a yellow round tablet, with the imprint Y70, containing 20mg of Sod. DR. It is manufactured by Aurobindo Pharma USA, Inc. and is used to treat acid reflux disease. The medication should be stored at room temperature and kept out of reach from children. This particular package contains 90 tablets, with the expiration date marked as MM/YY. The NDC code for this medication is 7133515582 02733901523487.*
rabeprazole fig1

This is a table showing the mean scores for heartburn in a study with three groups. The first group received a placebo (n=68), the second group received 10mg of RAB (n=64), and the third group received 20mg of RAB (n=67). The heartburn scores ranged from 0 to 4, with 0 indicating no heartburn and 4 indicating very severe heartburn.*
FIGURE 2: MEAN DAYTIME HEARTBURN SCORES RAB-USA-2 - rabeprazole fig2

The text provides a table with data on the mean score of heartburn for placebo and different doses of RAB. The scores range from 0 (no heartburn) to 4 (very severe heartburn) and were measured on study days 0, 7, 14, 21, and 28. The placebo group had "n" participants, and RAB10mg and RAB20mg groups had 64 and 67 participants, respectively. No further information is available.*
FIGURE 3: MEAN NIGHTTIME HEARTBURN SCORES RAB-USA-2 - rabeprazole fig3

This is a clinical study comparing the mean heartburn scores between a placebo group of 58 participants and a group of 59 participants who received 20mg of RAB. Heartburn scores ranged from 0 (none) to 4 (very severe).*
FIGURE 4: MEAN DAYTIME HEARTBURN SCORES RAB-USA-3 - rabeprazole fig4

This appears to be a table or chart displaying data on heartburn scores for a study involving a placebo and a medication called RAB20mg. The scores range from 0 (none) to 4 (very severe) and are likely used to evaluate the effectiveness of the medication in treating heartburn.*
* The product label images have been analyzed using a combination of traditional computing and machine learning techniques. It should be noted that the descriptions provided may not be entirely accurate as they are experimental in nature. Use the information in this page at your own discretion and risk.