Product Images Baclofen

View Photos of Packaging, Labels & Appearance

Product Label Images

The following 3 images provide visual information about the product associated with Baclofen NDC 71335-1664 by Bryant Ranch Prepack, such as packaging, labeling, and the appearance of the drug itself. This resource could be helpful for medical professionals, pharmacists, and patients seeking to verify medication information and ensure they have the correct product.

baclofen str

baclofen str

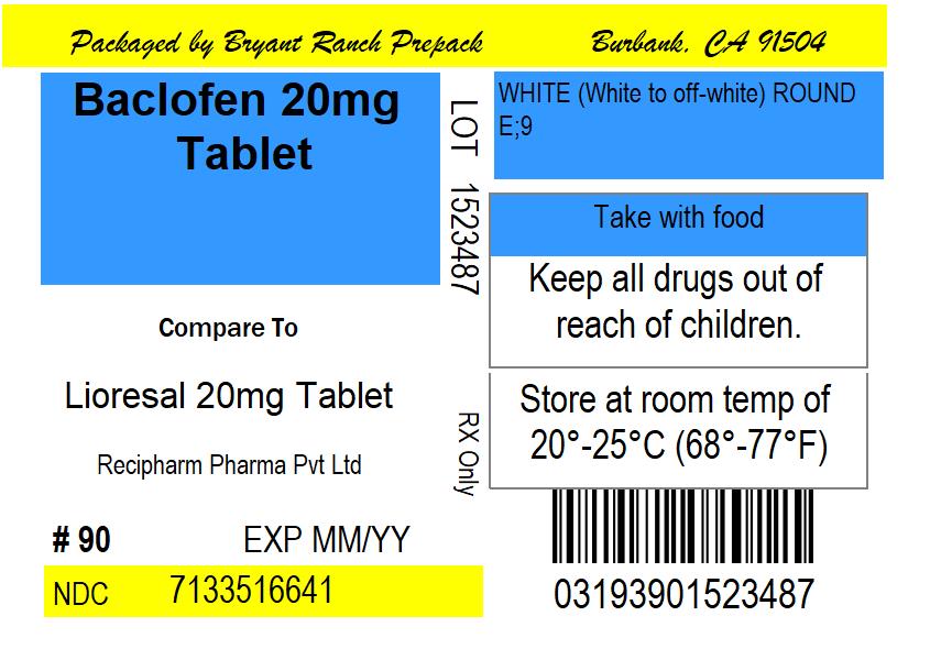
Label Image - lbl713351664

Label Image - lbl713351664

This appears to be a product information label for a medication called "Lioresal 20mg Tablet" produced by Recipharm Pharma Pt Ltd. The package was prepared by Bryant Ranck Prepack and contains 90 tablets with an expiration date of MM/YY. The package also includes the drug's National Drug Code (NDC) which is 7133516641. The label provides storage instructions to keep the drug at room temperature (20°-25°C or 68°-77°F) and warns to keep all drugs out of reach of children. The last line with numbers might be a barcode or a serial number.*

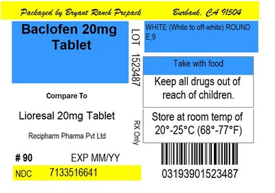
lbl7133516642

lbl7133516642

This is a description of Baclofen Tablets, USP. Each tablet contains 20mg of Baclofen. It advises to store the tablets at a temperature range of 20 to 25 degrees Celsius and to keep the drug out of reach of children. It also recommends taking the tablets with food. The National Drug Code (NDC) is 71335-1664-1 and it is available in a bottle of 90 tablets.*

* The product label images have been analyzed using a combination of traditional computing and machine learning techniques. It should be noted that the descriptions provided may not be entirely accurate as they are experimental in nature. Use the information in this page at your own discretion and risk.