Product Images Tramadol Hydrochloride

View Photos of Packaging, Labels & Appearance

Product Label Images

The following 6 images provide visual information about the product associated with Tramadol Hydrochloride NDC 71335-1676 by Bryant Ranch Prepack, such as packaging, labeling, and the appearance of the drug itself. This resource could be helpful for medical professionals, pharmacists, and patients seeking to verify medication information and ensure they have the correct product.

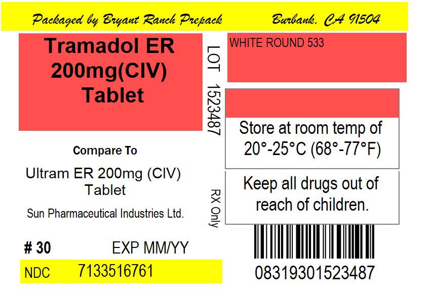
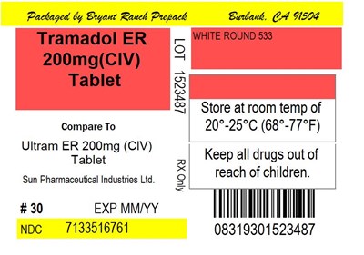
Label Image - lbl713351676

Label Image - lbl713351676

tramadol-figure1 - tramadol figure1

tramadol-figure1 - tramadol figure1

Tramadol is a medication available in extended-release tablets and immediate-release tablets. The extended-release formulation comes in a dosage strength of 200 mg once a day, while the immediate-release formulation comes in a strength of 50 mg every 6 hours. This information is presented in a chart with the time and a symbol indicating the type of tablet prescribed.*

tramadol-figure2 - tramadol figure2

tramadol-figure2 - tramadol figure2

This appears to be a prescription drug label indicating the dosages and types of tramadol medication to be taken. The recommended dosages include Tramadol Hydrochloride Extended-Release Tablets, 200 mg q.d. and Tramadol IR Tablets, 50 mg q6h.*

tramadol-figure3 - tramadol figure3

tramadol-figure3 - tramadol figure3

tramadol-figure4 - tramadol figure4

tramadol-figure4 - tramadol figure4

tramadol-structure - tramadol structure

tramadol-structure - tramadol structure

* The product label images have been analyzed using a combination of traditional computing and machine learning techniques. It should be noted that the descriptions provided may not be entirely accurate as they are experimental in nature. Use the information in this page at your own discretion and risk.