Product Images Olanzapine

View Photos of Packaging, Labels & Appearance

Product Label Images

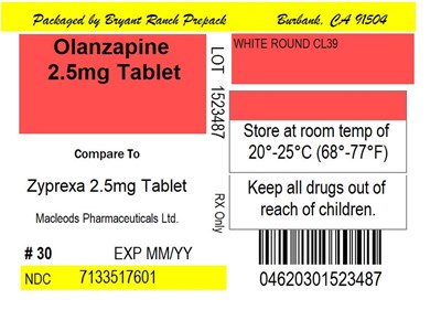
The following 2 images provide visual information about the product associated with Olanzapine NDC 71335-1760 by Bryant Ranch Prepack, such as packaging, labeling, and the appearance of the drug itself. This resource could be helpful for medical professionals, pharmacists, and patients seeking to verify medication information and ensure they have the correct product.

Label - lbl713351760

Label - lbl713351760

This is a description of a medication package bearing a label with information such as the name of the medication, dosage strength, and manufacturer. It also includes storage instructions and a warning to keep drugs out of reach of children. No specific name of the medication is given, hence this is not a full description of a specific medication package.*

138 - olanzapine tab str

138 - olanzapine tab str

* The product label images have been analyzed using a combination of traditional computing and machine learning techniques. It should be noted that the descriptions provided may not be entirely accurate as they are experimental in nature. Use the information in this page at your own discretion and risk.