Product Images Lisinopril And Hydrochlorothiazide

View Photos of Packaging, Labels & Appearance

Product Label Images

The following 3 images provide visual information about the product associated with Lisinopril And Hydrochlorothiazide NDC 71335-1783 by Bryant Ranch Prepack, such as packaging, labeling, and the appearance of the drug itself. This resource could be helpful for medical professionals, pharmacists, and patients seeking to verify medication information and ensure they have the correct product.

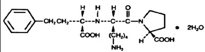
Structural formula 1 - image 01

Structural formula 1 - image 01

Structural formula 2 - image 02

Structural formula 2 - image 02

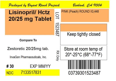
Label - lbl713351783

Label - lbl713351783

The text seems to be a label of a medicine called Lisinopril HCTZ which is available in a 20/25 mg tablet, peach in color, and round in shape. It is supposed to be stored at room temperature and kept tightly closed. The label also includes information regarding the manufacturer of the medicine and its expiration date.*

* The product label images have been analyzed using a combination of traditional computing and machine learning techniques. It should be noted that the descriptions provided may not be entirely accurate as they are experimental in nature. Use the information in this page at your own discretion and risk.