Product Images Bupropion Hydrochloride SR
View Photos of Packaging, Labels & Appearance
Product Label Images
The following 2 images provide visual information about the product associated with Bupropion Hydrochloride SR NDC 71335-1866 by Bryant Ranch Prepack, such as packaging, labeling, and the appearance of the drug itself. This resource could be helpful for medical professionals, pharmacists, and patients seeking to verify medication information and ensure they have the correct product.
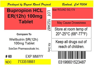
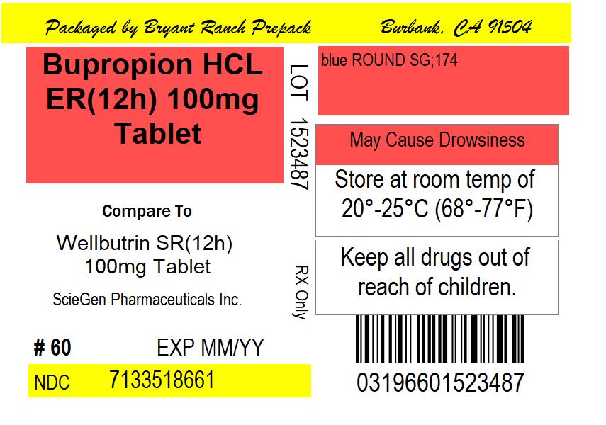
Label - lbl713351866

This appears to be a medication label for a 100mg tablet. The drug name is not provided, but it is being compared to Wellbutrin SR. The manufacturer is ScieGen Pharmaceuticals Inc., and the package was prepared by someone named Bryant Ranck. The tablet comes in a package of 60, and the expiration date is listed as MM/YY. The NDC number is 7133518661. The label also includes storage instructions and a warning to keep the medication out of reach of children.*
* The product label images have been analyzed using a combination of traditional computing and machine learning techniques. It should be noted that the descriptions provided may not be entirely accurate as they are experimental in nature. Use the information in this page at your own discretion and risk.