FDA Label for Meclizine Hydrochloride
View Indications, Usage & Precautions
- 1 INDICATIONS AND USAGE
- 2.1 RECOMMENDED DOSAGE
- 2.2 ADMINISTRATION INSTRUCTIONS
- 3 DOSAGE FORMS AND STRENGTHS
- 4 CONTRAINDICATIONS
- 5.1 DROWSINESS
- 5.2 CONCURRENT MEDICAL CONDITIONS
- 6 ADVERSE REACTIONS
- 7.1 CNS DEPRESSANTS
- 7.2 CYP2D6 INHIBITORS
- 8.1 PREGNANCY
- 8.2 LACTATION
- 8.4 PEDIATRIC USE
- 8.5 GERIATRIC USE
- 8.6 HEPATIC IMPAIRMENT
- 8.7 RENAL IMPAIRMENT
- 8.8 GENETIC CYP2D6 POLYMORPHISM
- 11 DESCRIPTION
- 12.1 MECHANISM OF ACTION
- 12.2 PHARMACODYNAMICS
- 12.3 PHARMACOKINETICS
- 13.1 CARCINOGENESIS, MUTAGENESIS, IMPAIRMENT OF FERTILITY
- 16 HOW SUPPLIED/STORAGE AND HANDLING
- 17 PATIENT COUNSELING INFORMATION
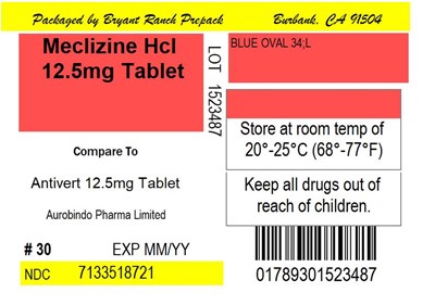
- PACKAGE LABEL.PRINCIPAL DISPLAY PANEL
Meclizine Hydrochloride Product Label
The following document was submitted to the FDA by the labeler of this product Bryant Ranch Prepack. The document includes published materials associated whith this product with the essential scientific information about this product as well as other prescribing information. Product labels may durg indications and usage, generic names, contraindications, active ingredients, strength dosage, routes of administration, appearance, warnings, inactive ingredients, etc.
1 Indications And Usage
Meclizine hydrochloride is indicated for the treatment of vertigo associated with diseases affecting the vestibular system in adults.
2.1 Recommended Dosage
The recommended dosage is 25 mg to 100 mg daily administered orally, in divided doses, depending upon clinical response.
2.2 Administration Instructions
Tablets
Meclizine hydrochloride tablets must be swallowed whole.
Chewable Tablets
Meclizine hydrochloride chewable tablets must be chewed or crushed completely before swallowing. Do not swallow chewable tablets whole.
3 Dosage Forms And Strengths
Tablets
- 12.5 mg: oval-shaped, biconvex, two-layered tablet, one blue to pale blue layer debossed with “34” and one white to off white layer debossed with “L”.
- 25 mg: oval-shaped, biconvex, two-layered tablet, one yellow to pale yellow layer debossed with “49” and one white to off white layer debossed with “L”.
- 50 mg: oval-shaped, biconvex, two-layered tablet, one blue to pale blue layer debossed with “50” and one yellow to pale yellow layer and debossed with “L”.
- 25 mg: pink colored round tablets debossed with “M 25” on one side and break line on other side.
Chewable Tablets
4 Contraindications
Meclizine hydrochloride is contraindicated in patients with a hypersensitivity to meclizine or any of the inactive ingredients [see Adverse Reactions (6) and Description (11)].
5.1 Drowsiness
Since drowsiness may occur with use of meclizine hydrochloride, patients should be warned of this possibility and cautioned against driving a car or operating dangerous machinery.
Patients should avoid alcoholic beverages while taking meclizine hydrochloride [see Drug Interactions (7.1)].
5.2 Concurrent Medical Conditions
Because of its potential anticholinergic action, meclizine hydrochloride should be used with caution in patients with asthma, glaucoma, or enlargement of the prostate gland.
6 Adverse Reactions
The following adverse reactions associated with the use of meclizine hydrochloride were identified in clinical studies or postmarketing reports. Because some of these reactions were reported voluntarily from a population of uncertain size, it is not always possible to reliably estimate their frequency or establish a causal relationship to drug exposure.
Anaphylactic reaction, drowsiness, dry mouth, headache, fatigue, and vomiting. On rare occasions blurred vision has been reported.
7.1 Cns Depressants
There may be increased CNS depression when meclizine hydrochloride is administered concurrently with other CNS depressants, including alcohol [see Warnings and Precautions (5.1)].
7.2 Cyp2d6 Inhibitors
Based on in-vitro evaluation, meclizine is metabolized by CYP2D6. Therefore, there is a possibility for a drug interaction between meclizine hydrochloride and CYP2D6 inhibitors. Therefore, monitor for adverse reactions and clinical effect accordingly.
8.1 Pregnancy
Risk Summary
Data from epidemiological studies have not generally indicated a drug-associated risk of major birth defects with meclizine during pregnancy. However, in a published study, an increased incidence of fetal malformations was observed following oral administration of meclizine to pregnant rats during the period of organogenesis, at doses similar to those used clinically.
In the U.S. general population, the estimated background risk of major birth defects and miscarriage in clinically recognized pregnancies is 2-4% and 15-20%, respectively. The background risk of major birth defects and miscarriage for the indicated population is unknown.
Data
Human Data
Epidemiological studies reporting on pregnancies exposed to meclizine have not identified an association between the use of meclizine during pregnancy and an increased risk of major birth defects.
Animal Data
In a published study, oral administration of meclizine (25-250 mg/kg) to pregnant rats during the period of organogenesis resulted in a high incidence of fetal malformations. These effects occurred at doses as low as
25 mg/kg, which is approximately 2 times the maximum recommended human dose (100 mg) on a body surface area (mg/m2) basis.
8.2 Lactation
Risk Summary
There are no data on the presence of meclizine in human milk, the effects on the breastfed infant, or the effects on milk production. The developmental and health benefits of breastfeeding should be considered along with the mother’s clinical need for meclizine hydrochloride and any potential adverse effects on the breastfed infant from meclizine hydrochloride or from the underlying maternal condition.
8.4 Pediatric Use
Safety and effectiveness in pediatric patients have not been established.
8.5 Geriatric Use
In general, dose selection for an elderly patient should be cautious, usually starting at the low end of the dosing range, reflecting the greater frequency of decreased hepatic, renal, or cardiac function, and of concomitant disease or other drug therapy.
8.6 Hepatic Impairment
The effect of hepatic impairment on the pharmacokinetics of meclizine has not been evaluated. As meclizine hydrochloride undergoes metabolism, hepatic impairment may result in increased systemic exposure of meclizine. Treatment with meclizine hydrochloride should be administered with caution in patients with hepatic impairment.
8.7 Renal Impairment
The effect of renal impairment on the pharmacokinetics of meclizine has not been evaluated. Because of a potential for drug/metabolite accumulation, meclizine hydrochloride should be administered with caution in patients with renal impairment and in the elderly, as renal function generally declines with age.
8.8 Genetic Cyp2d6 Polymorphism
The genetic polymorphism of CYP2D6 that results in poor-, intermediate-, extensive-, and ultrarapid metabolizer phenotypes could contribute to large inter-individual variability in meclizine exposure. Therefore, when meclizine hydrochloride is administered to patients with CYP2D6 polymorphism, monitor for adverse reactions and clinical effect accordingly.
11 Description
Meclizine hydrochloride, a histamine (H1) receptor antagonist, is a white or slightly yellowish, crystalline powder. It has the following structural formula:
Chemically, meclizine hydrochloride is 1-(p-chloro-α-phenylbenzyl)-4-(m-methylbenzyl) piperazine dihydrochloride monohydrate.
Tablets
Inactive ingredients for the tablets are: corn starch; dibasic calcium phosphate; magnesium stearate; polyethylene glycol; sucrose. The 12.5 mg tablets also contain: FD&C Blue # 1. The 25 mg tablets also contain: FD&C Yellow # 6 and D&C Yellow # 10. The 50 mg tablets also contain: FD&C Blue # 1, FD&C Yellow # 6 and D&C Yellow # 10.
Each meclizine hydrochloride 12.5 mg tablet contains 12.5 mg of meclizine dihydrochloride equivalent to 10.53 mg of meclizine free base.
Each meclizine hydrochloride 25 mg tablet contains 25 mg of meclizine dihydrochloride equivalent to 21.07 mg of meclizine free base.
Each meclizine hydrochloride 50 mg tablet contains 50 mg of meclizine dihydrochloride equivalent to 42.14 mg of meclizine free base.
Chewable Tablets
Inactive ingredients for the chewable tablets are: corn starch, colloidal silicon dioxide, FD&C Red # 40, lactose monohydrate, magnesium stearate, raspberry flavor, saccharin sodium, and talc.
Each meclizine hydrochloride 25 mg chewable tablet contains 25 mg of meclizine dihydrochloride equivalent to 21.07 mg of meclizine free base.
12.1 Mechanism Of Action
The precise mechanism by which meclizine exerts its therapeutic effect is unknown but is presumed to involve antagonism of the histamine H1 receptor.
12.2 Pharmacodynamics
There are no relevant pharmacodynamic data regarding meclizine.
12.3 Pharmacokinetics
The available pharmacokinetic information for meclizine following oral administration has been summarized from published literature.
Absorption
Meclizine is absorbed after oral administration with maximum plasma concentrations reaching at a median Tmax value of 3 hours post-dose (range: 1.5 to 6 hours) for the tablet dosage form.
Distribution
Drug distribution characteristics for meclizine in humans are unknown.
Elimination
Meclizine has a plasma elimination half-life of about 5-6 hours in humans.
Metabolism
In an in vitro metabolic study using human hepatic microsome and recombinant CYP enzyme, CYP2D6 was found to be the dominant enzyme for metabolism of meclizine.
13.1 Carcinogenesis, Mutagenesis, Impairment Of Fertility
Carcinogenesis
Animal studies to assess the carcinogenic potential of meclizine have not been conducted.
Mutagenesis
Genetic toxicology studies of meclizine have not been conducted.
Impairment of Fertility
Animal studies to assess the effects of meclizine on fertility and early embryonic development have not been conducted.
16 How Supplied/Storage And Handling
NDC: 71335-1872-1: 30 Tablets in a BOTTLE
NDC: 71335-1872-2: 60 Tablets in a BOTTLE
NDC: 71335-1872-3: 90 Tablets in a BOTTLE
NDC: 71335-1872-4: 28 Tablets in a BOTTLE
NDC: 71335-1872-5: 20 Tablets in a BOTTLE
NDC: 71335-1872-6: 120 Tablets in a BOTTLE
NDC: 71335-1872-7: 100 Tablets in a BOTTLE
17 Patient Counseling Information
Administration Instructions
Advise patients that the tablets must be swallowed whole, but chewable tablets must be chewed or crushed completely before swallowing [see Dosage and Administration (2.1)].
Adverse Reactions
Advise patients that meclizine hydrochloride may cause anaphylactic reaction, drowsiness, dry mouth, headache, fatigue, vomiting and, on rare occasions, blurred vision [see Warnings and Precautions (5.1), Adverse Reactions (6)].
Inform patients that meclizine hydrochloride may impair their ability to engage in potentially dangerous activities, such as operating machinery or vehicles.
Concomitant Drug Interactions
Advise patients regarding medications that should not be taken in combination with meclizine hydrochloride or that may necessitate increased monitoring [see Drug Interactions (7.1, 7.2)]. Inform patients that alcohol may increase adverse reactions.
Concurrent Medical Conditions
Advise patients to notify their healthcare provider about all of their medical conditions, including if they are pregnant or plan to become pregnant or if they are breastfeeding [see Warnings and Precautions (5.2), Use in Specific Populations (8.1, 8.2)].
PIA66201-00
Distributed by:
Rising Pharmaceuticals, Inc.
Saddle Brook, NJ 07663
Issued: 08/2019
Package Label.Principal Display Panel
Meclizine Hcl 12.5mg Tablet
* Please review the disclaimer below.

