Product Images Benzonatate

View Photos of Packaging, Labels & Appearance

Product Label Images

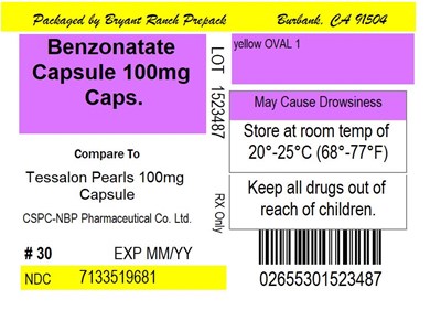
The following 2 images provide visual information about the product associated with Benzonatate NDC 71335-1968 by Bryant Ranch Prepack, such as packaging, labeling, and the appearance of the drug itself. This resource could be helpful for medical professionals, pharmacists, and patients seeking to verify medication information and ensure they have the correct product.

Label - lbl713351968

Label - lbl713351968

This text seems to be a mixture of information regarding packaging of a capsule and its comparison to a similar product. It includes details such as the company name and address, the product name and strength, the number of capsules in the package, and the expiration date. It also mentions the storage temperature and a warning to keep all drugs out of reach of children. However, the last string of numbers appears to be incomplete and not readable, so the identification of the product cannot be confirmed.*

Benzonatate_Chem_Structure.jpg - structure

Benzonatate_Chem_Structure.jpg - structure

* The product label images have been analyzed using a combination of traditional computing and machine learning techniques. It should be noted that the descriptions provided may not be entirely accurate as they are experimental in nature. Use the information in this page at your own discretion and risk.