Product Images Prednisone

View Photos of Packaging, Labels & Appearance

Product Label Images

The following 2 images provide visual information about the product associated with Prednisone NDC 71335-2069 by Bryant Ranch Prepack, such as packaging, labeling, and the appearance of the drug itself. This resource could be helpful for medical professionals, pharmacists, and patients seeking to verify medication information and ensure they have the correct product.

Structure - 6ed4f90c 6fcc 4389 935f 72851f3ffb0c 01

Structure - 6ed4f90c 6fcc 4389 935f 72851f3ffb0c 01

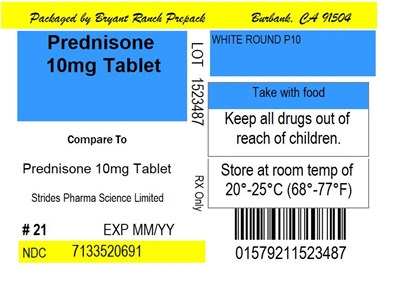
Label - lbl713352069

Label - lbl713352069

This text appears to be a medicine label. It provides information about a medication called "Prednisone 10mg Tablet" that has been packaged by "Bryant Ranck Prepack." The label also includes details such as the manufacturer, "Strides Pharma Science Limited," the expiration date, and the National Drug Code (NDC) number. It also states the caution of keeping the medication out of the reach of children and the recommended storage temperature.*

* The product label images have been analyzed using a combination of traditional computing and machine learning techniques. It should be noted that the descriptions provided may not be entirely accurate as they are experimental in nature. Use the information in this page at your own discretion and risk.