Product Images Lamotrigine
View Photos of Packaging, Labels & Appearance
Product Label Images
The following 8 images provide visual information about the product associated with Lamotrigine NDC 71335-2071 by Bryant Ranch Prepack, such as packaging, labeling, and the appearance of the drug itself. This resource could be helpful for medical professionals, pharmacists, and patients seeking to verify medication information and ensure they have the correct product.
Figure 1 - lamotrigine 02

Lamotrigine is a medication used to treat seizures in people with epilepsy and bipolar disorder.*
Figure 2 - lamotrigine 03

The text seems to be a comparison of the failure probability between a Placebo and a drug called LAMOTRIGINE, represented by a graph with axes representing probability (%). However, the graph itself is not included in the text provided.*
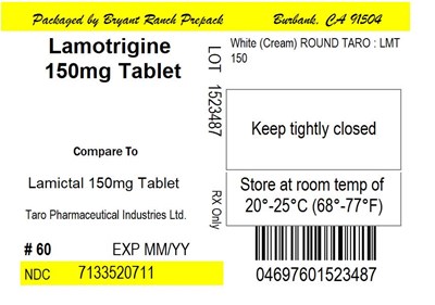
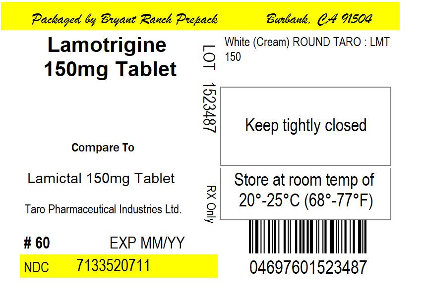
Label - lbl713352071

This is a description of a medication called Lamotrigine, which is a white (cream) round tablet produced by Taro Pharmaceutical Industries Ltd. The tablet has an engraving of "LMT" and the dose is 150mg. The medication is intended to be kept tightly closed at room temperature. The NDC number is 7133520711 and the expiry date is not provided.*
* The product label images have been analyzed using a combination of traditional computing and machine learning techniques. It should be noted that the descriptions provided may not be entirely accurate as they are experimental in nature. Use the information in this page at your own discretion and risk.