Product Images Oxycodone And Acetaminophen

View Photos of Packaging, Labels & Appearance

Product Label Images

The following 3 images provide visual information about the product associated with Oxycodone And Acetaminophen NDC 71335-2106 by Bryant Ranch Prepack, such as packaging, labeling, and the appearance of the drug itself. This resource could be helpful for medical professionals, pharmacists, and patients seeking to verify medication information and ensure they have the correct product.

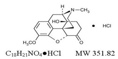
Oxycodone HCl-Struct - Structure 1

Oxycodone HCl-Struct - Structure 1

Acetaminophen-Struct - Structure 2

Acetaminophen-Struct - Structure 2

This appears to be a chemical formula and molecular weight. The formula is CsHoNO2 and the molecular weight is 151.17.*

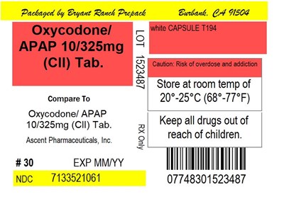
Label - lbl713352106

Label - lbl713352106

This is a medication package of Oxycodone and Acetaminophen (10/325mg) tablets produced by Cent Pharmaceuticals, Inc. Each package contains 30 tablets, and it was packaged by Bryant Ranch Prepach Bunbank. It is advised to store the medication at room temperature, and keep it out of reach of children. The expiration date is indicated on the package. The National Drug Code (NDC) number of this medication is 7133521061, and the package was sold in the United States.*

* The product label images have been analyzed using a combination of traditional computing and machine learning techniques. It should be noted that the descriptions provided may not be entirely accurate as they are experimental in nature. Use the information in this page at your own discretion and risk.