Product Images Fexofenadine Hcl

View Photos of Packaging, Labels & Appearance

Product Label Images

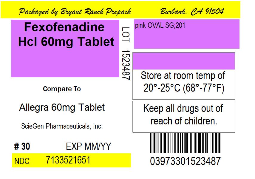
The following image provide visual information about the product associated with Fexofenadine Hcl NDC 71335-2165 by Bryant Ranch Prepack, such as packaging, labeling, and the appearance of the drug itself. This resource could be helpful for medical professionals, pharmacists, and patients seeking to verify medication information and ensure they have the correct product.

Label - lbl713352165

Label - lbl713352165

This appears to be a product label for a medication called Allegra 60mg Tablet, manufactured by ScieGen Pharmaceuticals, Inc. The packaging was done by the company Bryant Ranch Prepach Bunbank, with a specific code of 04 91502. The label also includes instructions to store the medication at room temperature (20°-25°C or 68°-77°F) and to keep it out of reach of children. The label mentions an expiration date with the format MM/YY and an NDC (National Drug Code) number of 7133521651.*

* The product label images have been analyzed using a combination of traditional computing and machine learning techniques. It should be noted that the descriptions provided may not be entirely accurate as they are experimental in nature. Use the information in this page at your own discretion and risk.