FDA Label for Acetaminophen
View Indications, Usage & Precautions
- ACTIVE INGREDIENT (IN EACH CAPLET)
- PURPOSE
- USES
- WARNINGS
- DO NOT USE
- ASK A DOCTOR BEFORE USE IF YOU HAVE
- ASK A DOCTOR OR PHARMACIST BEFORE USE IF YOU ARE
- STOP USE AND ASK A DOCTOR IF
- IF PREGNANT OR BREAST-FEEDING,
- KEEP OUT OF REACH OF CHILDREN.
- DIRECTIONS
- OTHER INFORMATION
- INACTIVE INGREDIENTS
- QUESTIONS OR COMMENTS?
- HOW SUPPLIED
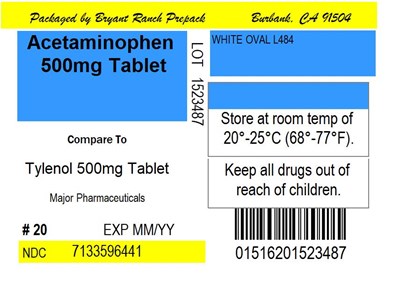
- PACKAGE LABEL.PRINCIPAL DISPLAY PANEL
Acetaminophen Product Label
The following document was submitted to the FDA by the labeler of this product Bryant Ranch Prepack. The document includes published materials associated whith this product with the essential scientific information about this product as well as other prescribing information. Product labels may durg indications and usage, generic names, contraindications, active ingredients, strength dosage, routes of administration, appearance, warnings, inactive ingredients, etc.
Active Ingredient (In Each Caplet)
Acetaminophen 500 mg
Purpose
Pain reliever/fever reducer
Uses
• temporarily relieves minor aches and pains due to:• the common cold• headache• backache• minor pain of arthritis• toothache• muscular aches• premenstrual and menstrual cramps• temporarily reduces fever
Warnings
Liver warning: This product contains acetaminophen. Severe liver damage may occur if you take
• more than 4,000 mg of acetaminophen in 24 hours• with other drugs containing acetaminophen• 3 or more alcoholic drinks every day while using this product• skin reddening• blisters• rash
Allergy alert: Acetaminophen may cause severe skin reactions. Symptoms may include:
If a skin reaction occurs, stop use and seek medical help right away.
Do Not Use
• with any other drug containing acetaminophen (prescription or nonprescription). If you are not sure whether a drug contains acetaminophen, ask a doctor or pharmacist.• if you have ever had an allergic reaction to this product or any of its ingredients
Ask A Doctor Before Use If You Have
liver disease
Ask A Doctor Or Pharmacist Before Use If You Are
taking the blood thinning drug warfarin
Stop Use And Ask A Doctor If
• pain gets worse or lasts more than 10 days• fever gets worse or lasts more than 3 days• new symptoms occur• redness or swelling is present
These could be signs of a serious condition.
If Pregnant Or Breast-Feeding,
ask a health professional before use.
Keep Out Of Reach Of Children.
Overdose warning: In case of overdose, get medical help or contact a Poison Control Center right away (1-800-222-1222). Quick medical attention is critical for adults as well as for children even if you do not notice any signs or symptoms.
Directions
• do not take more than directed (see overdose warning)• take 2 caplets every 6 hours while symptoms last• do not take more than 6 caplets in 24 hours, unless directed by a doctor• do not use for more than 10 days unless directed by a doctor
adults and children 12 years and over | |
children under 12 years | ask a doctor |
Other Information
• store at 20-25°C (68-77°F)
Inactive Ingredients
carnauba wax, corn starch*, croscarmellose sodium*, hypromellose, polyethylene glycol, povidone, pregelatinized starch, sodium starch glycolate*, stearic acid
*may contain one or more of these ingredients
Questions Or Comments?
1-800-616-2471
How Supplied
NDC: 71335-9644-1: 20 Tablets in a BOTTLE
NDC: 71335-9644-2: 15 Tablets in a BOTTLE
NDC: 71335-9644-3: 40 Tablets in a BOTTLE
NDC: 71335-9644-4: 100 Tablets in a BOTTLE
NDC: 71335-9644-5: 30 Tablets in a BOTTLE
NDC: 71335-9644-6: 45 Tablets in a BOTTLE
NDC: 71335-9644-7: 50 Tablets in a BOTTLE
NDC: 71335-9644-8: 60 Tablets in a BOTTLE
NDC: 71335-9644-9: 90 Tablets in a BOTTLE
NDC: 71335-9644-0: 250 Tablets in a BOTTLE
Package Label.Principal Display Panel
Acetaminophen 500mg Tablet
* Please review the disclaimer below.
