Product Images Enalapril Maleate

View Photos of Packaging, Labels & Appearance

Product Label Images

The following 2 images provide visual information about the product associated with Enalapril Maleate NDC 71335-9649 by Bryant Ranch Prepack, such as packaging, labeling, and the appearance of the drug itself. This resource could be helpful for medical professionals, pharmacists, and patients seeking to verify medication information and ensure they have the correct product.

Chemical Structure - enalapril maleate 01

Chemical Structure - enalapril maleate 01

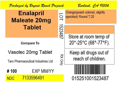
Label - lbl713359649

Label - lbl713359649

This is a description of a medication called "Maleate 20mg" in the form of a tablet. It is recommended to store it at room temperature (20°-25°C or 68°-77°F), and it comes in a bottle containing 100 tablets. The manufacturer is Taro Pharmaceutical Industries Ltd. The medication is most likely used to treat hypertension or heart failure.*

* The product label images have been analyzed using a combination of traditional computing and machine learning techniques. It should be noted that the descriptions provided may not be entirely accurate as they are experimental in nature. Use the information in this page at your own discretion and risk.