Product Images Olanzapine
View Photos of Packaging, Labels & Appearance
Product Label Images
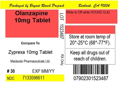
The following 2 images provide visual information about the product associated with Olanzapine NDC 71335-9661 by Bryant Ranch Prepack, such as packaging, labeling, and the appearance of the drug itself. This resource could be helpful for medical professionals, pharmacists, and patients seeking to verify medication information and ensure they have the correct product.
Label - lbl713359661

This appears to be a comparison of two medication packages: one for a drug called "Zyprexa 10mg Tablet" produced by Macleods Pharmaceutcals Ltd., and the other produced by Bryant Ranck Prepack. The Bryant Ranck Prepack package contains an unspecified medication, with a warning to store it at room temperature and to keep it out of reach of children. The package also includes a unique identification number with a barcode.*
* The product label images have been analyzed using a combination of traditional computing and machine learning techniques. It should be noted that the descriptions provided may not be entirely accurate as they are experimental in nature. Use the information in this page at your own discretion and risk.