Product Images Daily Essential Lip Oil Blushing Nude

View Photos of Packaging, Labels & Appearance

Product Label Images

The following 2 images provide visual information about the product associated with Daily Essential Lip Oil Blushing Nude NDC 84891-2107 by Solarium Brands Llc, such as packaging, labeling, and the appearance of the drug itself. This resource could be helpful for medical professionals, pharmacists, and patients seeking to verify medication information and ensure they have the correct product.

PDP - PDP

PDP - PDP

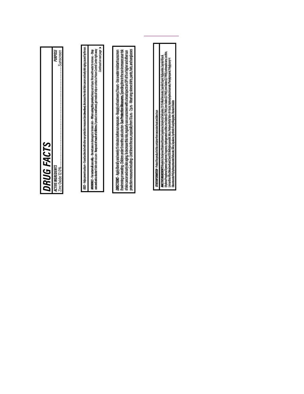
Dosage and Administration - drug facts

Dosage and Administration - drug facts